Запчасти Case IH 6000 (9-46) - GAUGE WHEELS, 21, 25 AND 30 FOOT HEADERS (09) - CHASSIS/ATTACHMENTS

Схема запчастей Case IH 6000 - (9-46) - GAUGE WHEELS, 21, 25 AND 30 FOOT HEADERS (09) - CHASSIS/ATTACHMENTS
FIT
1:1
100%

Артикул

Название

Примечание

Количество

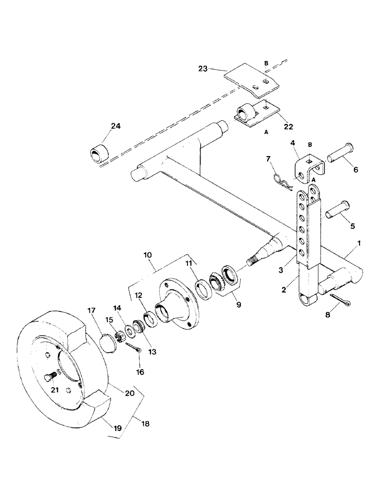
1337139C1

GAUGE WHEELS ACCESSORY ATTACHMENT - complete

1шт.

1

1337034C1

CARRIER

- L/H

1шт.

1

1337035C1

CARRIER

- R/H

1шт.

2

1337036C1

TUBE

- gauge

2шт.

3

1337037C1

BAR

- gauge

2шт.

4

1337038C1

CHANNEL

- bar

2шт.

a

465567R1

CARRIAGE BOLT,Sht Sq Nk, 1/2" - 13 x 1 1/2", Gr 5

BOLT - round head square neck, 1/2 NC x 1-1/2 inch

2шт.

b

487374R1

BEARING LOCK NUT,Flg, USR, 1/2"-13

- serrated flange lock, 1/2 inch NC

2шт.

5

21401R1

HEADED PIN,3/4" x 2 3/4"

PIN - clevis, 3/4 x 2-1/4 inch

2шт.

6

21675R1

PIN

- clevis, 3/4 x 2-3/4 inch

2шт.

7

591107R1

COTTER PIN

- hair

4шт.

8

32-1632

COTTER PIN,1/4" x 2"

PIN, SPLIT (COTTER), 1/4" x 2"

2шт.

9

602958R91

BEARING ASSY,31.75 mm ID x 25.4 mm

- c/w seal, bearing

2шт.

10

1337039C1

HUB

- c/w bearing cups

2шт.

11

651817R1

BEARING CUP

CUP - inner bearing

2шт.

12

651814R1

BEARING CUP

CUP - outer bearing

2шт.

13

651815R91

BEARING ASSY,7.508" ID x 17.82" OD x 6"

CONE - bearing

2шт.

13

651815R91GV

BEARING CONE

Value, Cone Bearing

2шт.

14

467750R1

WASHER

- flat, 13/16 inch I.D.

2шт.

15

427640

SLOTTED NUT,3/4"-16, G5

NUT - slotted hex, 3/4 inch NF

2шт.

16

432-1220

COTTER PIN,3/16" x 1 1/4"

Pin, Split (Cotter), 3/16" x 1 1/4"

2шт.

17

651194R1

CAP

- dust

2шт.

18

1337138C1

WHEEL

ASSEMBLY - gauge

2шт.

19

NSS

NOT SOLD SEPARAT

TIRE

2шт.

20

NSS

NOT SOLD SEPARAT

WHEEL

2шт.

21

86837293

SHAFT

CAPSCREW - hex head, 1/2 NF x 1 inch

8шт.

22

1337137C1

HINGE

- carrier

2шт.

a

465567R1

CARRIAGE BOLT,Sht Sq Nk, 1/2" - 13 x 1 1/2", Gr 5

BOLT - round head square neck, 1/2 NC x 1-1/2 inch

4шт.

b

487374R1

BEARING LOCK NUT,Flg, USR, 1/2"-13

- serrated flange lock, 1/2 inch NC

4шт.

23

1976271C1

PLATE

- welded

2шт.

24

1976270C1

SPACER

- welded

2шт.

Выбрано товаров: 31