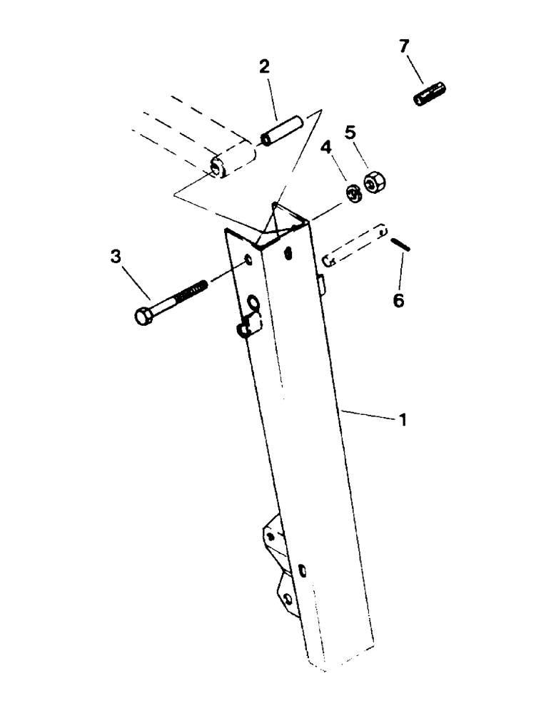
Запчасти Case IH 6000 (9-54) - LINKAGE MODIFICATION KIT, FOR DRAPER ANGLE REDUCTION (09) - CHASSIS/ATTACHMENTS

Схема запчастей Case IH 6000 - (9-54) - LINKAGE MODIFICATION KIT, FOR DRAPER ANGLE REDUCTION (09) - CHASSIS/ATTACHMENTS
FIT
1:1
100%

Артикул

Название

Примечание

Количество

REF

INSTRUCTION

KIT - lift linkage modification for draper angle reduction

1шт.

1

1978910C1

CHANNEL

- lift linkage

2шт.

2

1978911C1

TUBE

SPACER

2шт.

3

413-1072

BOLT,Hex, 5/8" - 11 x 4-1/2", Gr 5

- hex head, 5/8 NC x 4-1/2 inch

2шт.

4

492-11062

BEARING WASHER,5/8"

WASHER, LOCK, 5/8"

2шт.

5

280374

NUT,Hex, 5/8" - 11, Gr 5

- hex, 5/8 inch NC

2шт.

6

577247R1

LOCK PIN,3/8" x 2", Slotted

Pin, 3/8" x 2", Slotted

2шт.

7

1336857C1

HOSE

- protective

1шт.

Выбрано товаров: 0