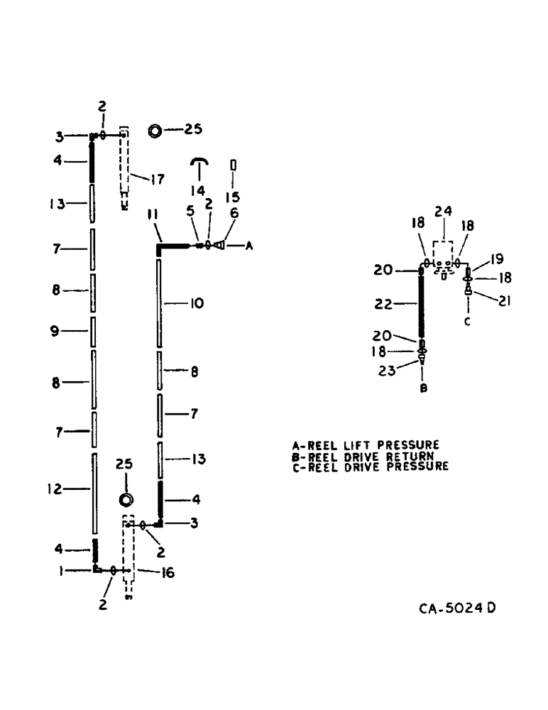
Запчасти Case IH 810 (B-19) - REEL, HYDRAULIC REEL LIFT AND DRIVE (58) - ATTACHMENTS/HEADERS

Схема запчастей Case IH 810 - (B-19) - REEL, HYDRAULIC REEL LIFT AND DRIVE (58) - ATTACHMENTS/HEADERS
15
10
25
13
24
17
11
2
20
18
8
18
2
4
16
8
18
9
4
19
3
2
7
7
7
5
13
14
8
4
23
3
21
8
22
25
6
18
20
2
12
1
FIT
1:1
100%

Артикул

Название

Примечание

Количество

1

9410976

ELBOW,90 Degree, 9/16"-18, 37 Degree x 9/16"-18, O-Ring

9/16-18 37 deg hyd flared tube

1шт.

2

364839R1

O-RING,0.078" Thk x 0.468" ID, -906, Cl 6, 90 Duro

6-1, 90 Duro, .468" ID x .078" Thk, 3/8 OD tube

4шт.

3

9411104

ELBOW,45 Degree, 9/16"-18, 37 Degree x 9/16"-18, O-Ring

9/16 37 deg hyd flared tube

2шт.

4

632455R91

HOSE

ASSY, reel lift, 14 in., 355.6 mm

3шт.

5

9410202

HYD CONNECTOR,9/16"-18, 37 Degree x 9/16"-18, O-Ring

CONNECTOR, 1/4 37 deg hyd flared tube

1шт.

6

187563C1

COUPLING, QUICK, FEM

COUPLING ASSY, self sealing female

1шт.

7

178812C1

HYD TUBE

TUBE ASSY, outer end

3шт.

8

197530C1

TUBE,0.375" OD

ASSY, spacer

3шт.

9

178811C1

HYD TUBE

TUBE ASSY, master to slave cyl center

1шт.

10

178813C1

HYD TUBE,.375" OD, 35, 1.25" Length

TUBE ASSY, pressure to master cyl ctr

1шт.

11

195504C2

HYDRAULIC HOSE

HOSE ASSY, reel lift, 90 in., 2032.0 mm, for 915 combine

1шт.

11

178962C1

HOSE ASSY.

HOSE ASSY, header to combine, 60 in., 1524.0 mm, for 1460 combine

1шт.

11

179202C1

HOSE,7.94mm ID x 1727.2mm L, SAE 100R1

ASSY, header to combine, 68 in., 1727.2 mm, for 1480 combine

1шт.

12

195505C1

TUBE

ASSY, header

1шт.

13

195506C1

HYD TUBE

TUBE ASSY, header

2шт.

14

165602C1

CLAMP

hyd tube

9шт.

938017R1

FLANGE NUT,Flg, USR, 5/16"-18

5/16 flange lock

9шт.

164191C1

SERRATED SCREW,Sl Truss Hd, 5/16" - 18 x 1 1/2"

5/16 x 1-1/2 znp slt-truss-hd

9шт.

15

163490C1

RUBBER INSULATOR

CUSHION, tube clamp

14шт.

16

547358R94

CYLINDER BLOCK

CYLINDER ASSY, hydraulic reel lift master, for components see catalog cyl, 1 section B

1шт.

547388R94

SEAL KIT

KIT, hyd. cylinder

1шт.

432-1216

COTTER PIN,3/16" x 1"

Pin, Split (Cotter), 3/16" x 1"

2шт.

21899R1

HEADED PIN

PIN, 1/2 x 2.500 type 5 hd

1шт.

468286R1

HEADED PIN,12.7mm OD x 92.08mm L

PIN, 1/2 x 3.438 PHC type 5

1шт.

17

532763R92

CYLINDER ASSY.

CYLINDER ASSY, hydraulic reel lift slave, for components see catalog cyl, 1 section A

1шт.

432-1216

COTTER PIN,3/16" x 1"

Pin, Split (Cotter), 3/16" x 1"

2шт.

21899R1

HEADED PIN

PIN, 1/2 x 2.500 type 5 hd

1шт.

468286R1

HEADED PIN,12.7mm OD x 92.08mm L

PIN, 1/2 x 3.438 PHC type 5

1шт.

532531R92

SEAL KIT

KIT, hyd. cylinder

1шт.

18

364885R1

O-RING,0.097" Thk x 0.755" ID, -910, Cl 6, 90 Duro

for 5/8 OD tube

4шт.

19

9410204

HYD CONNECTOR,7/8"-14, 37 Degree x 7/8"-14, O-Ring

CONNECTION, 7/8 37 deg short swivel hyd

1шт.

20

481352R1

HYD CONNECTOR,3/4"-16, 37 Degree x 7/8"-14, O-Ring

CONNECTOR, 3/4-16 x 7/8-14 37 deg hyd

2шт.

21

395150R91

COUPLING, QUICK, FEM

COUPLING ASSY, self-sealing-female

1шт.

22

180239C1

HOSE

ASSY, hyd motor, 90 in., 2286.0 mm, for 915 combine

1шт.

22

196878C1

HOSE

ASSY, combine to motor, 56 in., 1422.4 mm, for 1460 combine

1шт.

22

179411C1

HOSE

ASSY, combine to motor, 61 in., 1549.4 mm, for 1480 combine

1шт.

23

395149R1

QUICK MALE COUPLING

COUPLING ASSY, self sealing male

1шт.

24

MOTOR ASSY, reel drive, refer to this section group 6 under hydraulic reel drive motor

1шт.

25

SPACER, cylinder pivot pin, refer to this section, group 3 header

1шт.

Выбрано товаров: 39