Запчасти Case IH 8220 (2-10) - REEL DRIVE ASSEMBLY (58) - ATTACHMENTS/HEADERS

Схема запчастей Case IH 8220 - (2-10) - REEL DRIVE ASSEMBLY (58) - ATTACHMENTS/HEADERS
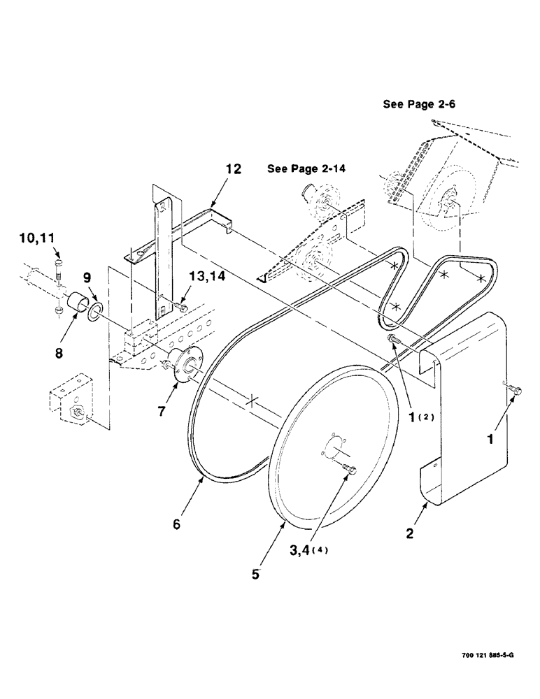
3
9
14
4
13
2
8
10
1
7
12
1
5
6
11
FIT
1:1
100%

Артикул

Название

Примечание

Количество

1

256873

BOLT,Hex Serr, 5/16" - 18 x 1/2", 5SPL, Full Thd

3шт.

2

700122100

SHIELD

1шт.

3

121-226

SERRATED BOLT,Hex, 3/8" - 16 x 1"

4шт.

4

232-5316

FLANGE NUT,Flg, 3/8"-16

3/8-16 HFTLN GR/G

4шт.

5

220822

SHEAVE

1шт.

6

55418

BELT

V-BELT

1шт.

7

700122096

HUB

1шт.

8

700122109

TUBE,60.33 mm OD, 54 mm Length

(21, 25 and 30 ft only)

1шт.

9

52548

SPECIAL WASHER

2 X 14 GAUGE NRMB

1шт.

10

71159

HEX SOC SCREW

1/2-13 X 3 HSHCS GR8

1шт.

11

231-5348

FLANGE NUT,Flg, 1/2"-13

1/2-13 HFTLN GR/G

1шт.

12

700122103

ANGLE

- shield

1шт.

13

121-115

SERRATED BOLT,Hex, 5/16" - 18 x 3/4"

1шт.

14

232-5315

FLANGE NUT,Flg, 5/16"-18

5/16-18 HFTLN GR/G

1шт.

Выбрано товаров: 14