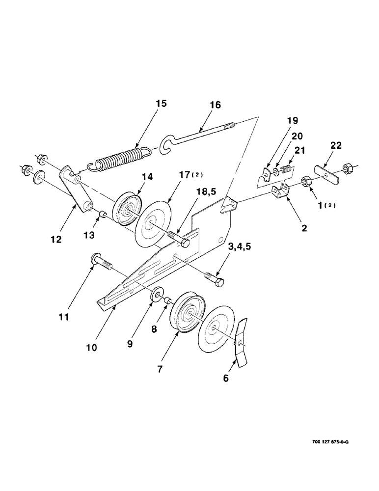
Запчасти Case IH 8220 (2-14) - IDLER ASSEMBLY, REEL (58) - ATTACHMENTS/HEADERS

Схема запчастей Case IH 8220 - (2-14) - IDLER ASSEMBLY, REEL (58) - ATTACHMENTS/HEADERS
9
4
21
5
17
13
7
5
14
22
6
2
20
3
18
1
10
16
11
15
19
8
12
FIT
1:1
100%

Артикул

Название

Примечание

Количество

1

425-108

NUT,1/2" - 13, Gr 5

NUT, , Hex 1/2"-13, G5

2шт.

2

700121227

CLIP

1шт.

3

413-840

BOLT,Hex, 1/2" - 13 x 2-1/2", Gr 5

.5 X 2.5 UNC GR5 YZD

1шт.

4

495-21056

WASHER,1/2"

1/2 HARDENED PLAIN WASHER

1шт.

5

231-5348

FLANGE NUT,Flg, 1/2"-13

1/2-13 HFTLN GR/G

2шт.

6

700126041

HANDLE

1шт.

7

607443R91

PULLEY

IDLER - flat

1шт.

8

700118334

SPACER

- sickle

1шт.

9

396-21066

WASHER,16.66mm ID x 33.33mm OD x 4.27mm Thk

- 5/8" bolt size 21/32" x 1 5/16" x .150", HDN

1шт.

10

700122092

SUPPORT

WA

1шт.

11

433-840

CARRIAGE BOLT,Sq Nk, 1/2" - 13 x 2 1/2", Gr 5

1/2-13 X 2-1/2 RHSNB

1шт.

12

700122110

ARM

WA

1шт.

13

6598627

SPACER

1шт.

14

053553

PULLEY

IDLER

1шт.

15

58875

SPRING

- extension

1шт.

16

700122113

STEM

ROD

1шт.

17

700122107

SHIELD

2шт.

18

413-856

BOLT,Hex, 1/2" - 13 x 3-1/2", Gr 5

1/2-13 X 3-1/2 C

1шт.

19

700121229

LOCK

TAB - lock

1шт.

20

95-81100

WASHER,33/64" x 7/8" x .049"

1/2 X 18 GAUGE NRMB

1шт.

21

700703267

COMPRESSION SPRING

SPRING - compression

1шт.

22

700122121

CLAMP

STRAP

1шт.

Выбрано товаров: 22