Запчасти Case IH 8220 (2-30) - REEL ASSEMBLY, RIGHT HALF 35 FOOT, SERIAL NUMBER CFH0067004 AND LATER (58) - ATTACHMENTS/HEADERS

Схема запчастей Case IH 8220 - (2-30) - REEL ASSEMBLY, RIGHT HALF 35 FOOT, SERIAL NUMBER CFH0067004 AND LATER (58) - ATTACHMENTS/HEADERS
2
13
2
1
8
3
18
11
3
6
9
5
4
12
3
20
17
3
3
3
7
14
10
15
19
16
FIT
1:1
100%

Артикул

Название

Примечание

Количество

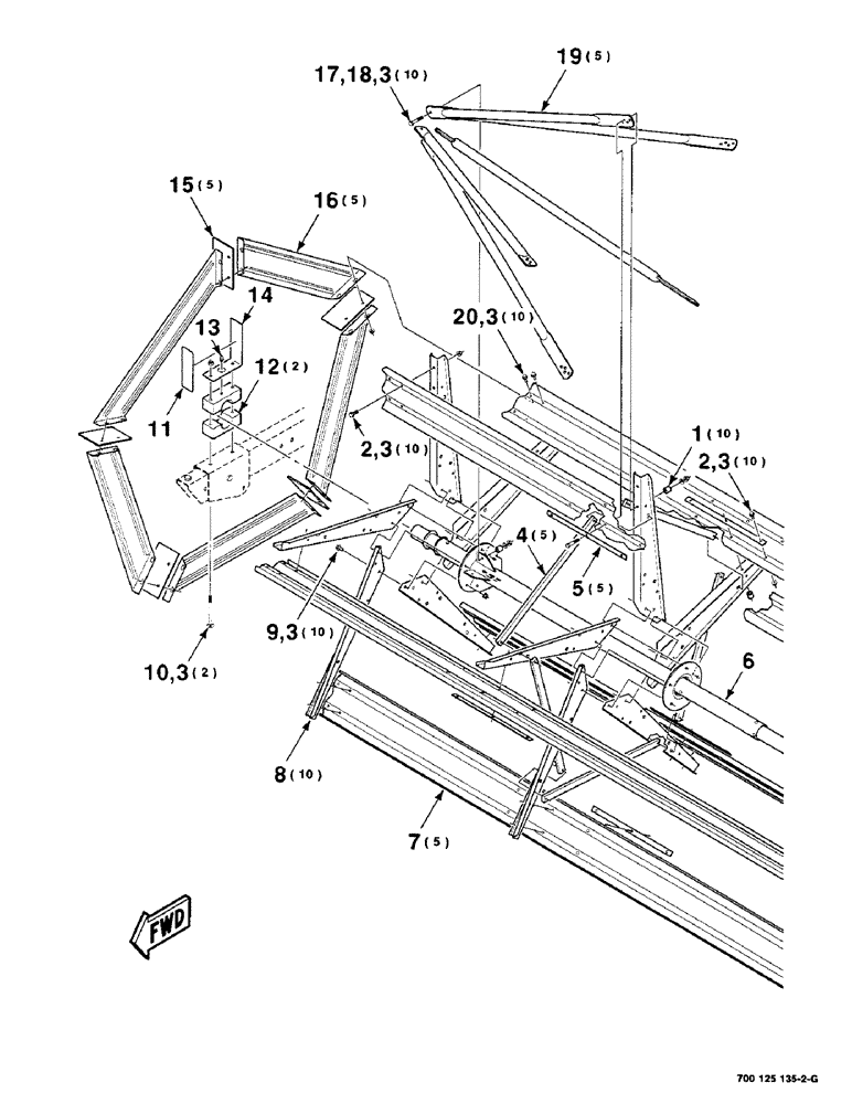
1

6605869

SPACER

10шт.

2

409-7612

BOLT,3/8"-16 x 1.09" OAL

3/8-16 X 3/4 HFSS

20шт.

3

232-5316

FLANGE NUT,Flg, 3/8"-16

3/8-16 HFTLN GR/G

52шт.

4

700126000

STRAP

5шт.

5

700129127

CLAMP

STRAP

5шт.

6

700125995

TUBE WA - reel

1шт.

7

700713247

BAT

- reel

5шт.

8

700129124

ARM

- reel

10шт.

9

154273C1

BOLT,Hex Serr, 3/8" - 16 x 1", Spcl

3/8-16 X 1 HFSS

10шт.

10

433-672

CARRIAGE BOLT,Sq Nk, 3/8" - 16 x 4 1/2", Gr 5

3/8-16 X 4-1/2 RHSNB

2шт.

11

878694

REFLECTOR

- amber

1шт.

12

700707236

BEARING HALF

BEARING - wood

2шт.

13

219-1

LUBE NIPPLE,1/8" - 27 NPTF

1/8 ZERK

1шт.

14

700116313

BRACKET

CAP - bearing

1шт.

15

700118408

FLAP

WEBBING

5шт.

16

700118409

SHIELD

- end, reel

5шт.

17

326-632

BOLT,Hex, 3/8" - 16 x 2", Gr 8

10шт.

18

496-11041

WASHER,13/32" x 13/16" x .065", HDN

3/8 HARDENED PLAIN WASHER

10шт.

19

700129126

TUBE,31.75 mm OD, 1160 mm Length

- reel, arm

5шт.

20

121-226

SERRATED BOLT,Hex, 3/8" - 16 x 1"

10шт.

Выбрано товаров: 20