Запчасти Case IH 8220 (3-12) - SWAYBAR SUPPORT, CRANK AND FLYWHEEL ASSEMBLY, 700130787 SWAYBAR ASSEMBLY COMPLETE (58) - ATTACHMENTS/HEADERS

Схема запчастей Case IH 8220 - (3-12) - SWAYBAR SUPPORT, CRANK AND FLYWHEEL ASSEMBLY, 700130787 SWAYBAR ASSEMBLY COMPLETE (58) - ATTACHMENTS/HEADERS
20
16
7
11
18
10
23
22
6
2
14
3
15
19
5
17
4
7
8
12
13
9
21
1
FIT
1:1
100%

Артикул

Название

Примечание

Количество

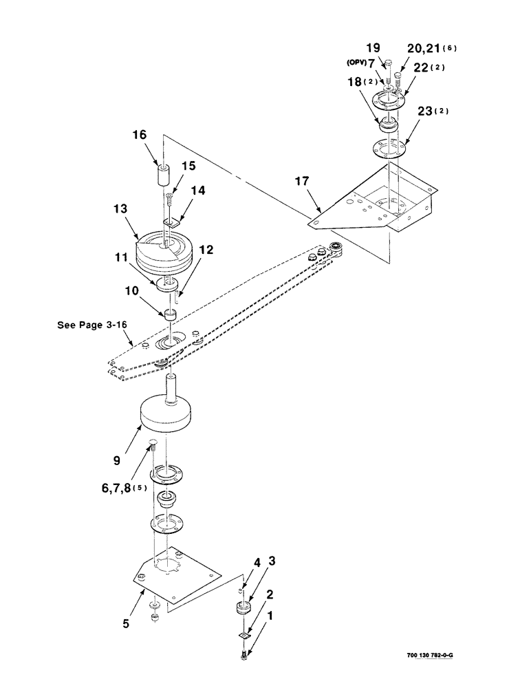
700130787

SUPPORT

SWAYBAR ASSEMBLY COMPLETE

1шт.

1

414-816

BOLT,Hex, 1/2" - 20 x 1", Gr 5

1/2-20 X 1 C

1шт.

2

700129104

RETAINER

1шт.

3

700129110

TUBE

WA

1шт.

4

700129111

KEY

5/16 X 1/2 KEY

1шт.

5

700130808

PLATE

WA

1шт.

6

434-616

CARRIAGE BOLT,Sht Sq Nk, 3/8" - 16 x 1", Gr 5

3/8-16 X 1 RHSNB

5шт.

7

496-11041

WASHER,13/32" x 13/16" x .065", HDN

3/8 HARDENED PLAIN WASHER

6шт.

8

232-5316

FLANGE NUT,Flg, 3/8"-16

3/8-16 HFTLN

5шт.

9

700130784

CRANK

1шт.

10

700130785

SPACER

1шт.

11

700130768

LARGE PLATE

PLATE - nut

1шт.

12

457400R1

KEY,5/16" Sq x 1 3/4", Par

5/16 X 1-3/4 KEY

1шт.

13

700122162

FLYWHEEL

1шт.

14

700130766

RETAINER

1шт.

15

164-130

HEX SOC SCREW,Flat Hd, 1/2" - 20 x 1 1/4"

1/2-20 X 1-1/4 HSFCHCS SPL

1шт.

16

700122196

SHAFT

1шт.

17

700130810

SUPPORT

WA

1шт.

18

712307

BEARING

- spherical

2шт.

19

700710679

BOLT

3/8-24 X 6 C GR8 NP

1шт.

20

413-616

BOLT,Hex, 3/8" - 16 x 1", Gr 5

6шт.

21

492-11038

LOCK WASHER,3/8"

6шт.

22

51200267

FLANGE

W/ZERK

2шт.

23

711440

FLANGE

2шт.

Выбрано товаров: 24