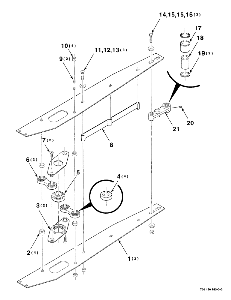
Запчасти Case IH 8220 (3-16) - SWAYBAR ASSEMBLY (58) - ATTACHMENTS/HEADERS

Схема запчастей Case IH 8220 - (3-16) - SWAYBAR ASSEMBLY (58) - ATTACHMENTS/HEADERS
18
14
11
16
3
1
10
15
5
12
8
6
9
21
13
15
17
19
2
20
4
7
FIT
1:1
100%

Артикул

Название

Примечание

Количество

1

700127782

LARGE PLATE

PLATE - swaybar

2шт.

2

700114633

SPACER

4шт.

3

700130755

LARGE PLATE

PLATE - pivot

2шт.

4

7714629

BALL BEARING,17mm ID x 40mm OD x 20.64mm W

BEARING - cylindrical

4шт.

5

936133R91

BEARING ASSY,38.1mm ID x 80mm OD x 18mm W

BEARING - cylindrical

1шт.

6

700114630

LINK ASSY.

LINK ASSEMBLY (Includes item 4)

2шт.

7

164-130

HEX SOC SCREW,Flat Hd, 1/2" - 20 x 1 1/4"

1/2-20 X 1-1/4 HSFCHCS SPL

2шт.

8

700121349

LARGE PLATE

SPACER

1шт.

9

700114635

PIN,16.99mm OD x 77mm L

2шт.

10

429-1010

NUT,5/8"-11, G8

4шт.

11

413-640

BOLT,Hex, 3/8" - 16 x 2-1/2", Gr 5

3шт.

12

496-11041

WASHER,13/32" x 13/16" x .065", HDN

3/8 HARDENED PLAIN WASHER

3шт.

13

232-5316

FLANGE NUT,Flg, 3/8"-16

3/8-16 HFTLN GR/G

3шт.

14

413-1044

BOLT,Hex, 5/8" - 11 x 2-3/4", Gr 5

5/8-11 X 2-3/4 C

2шт.

15

396-21066

WASHER,16.66mm ID x 33.33mm OD x 4.27mm Thk

- 5/8" bolt size 21/32" x 1 5/16" x .150", HDN

4шт.

16

230-42110

LOCK NUT,5/8"-11, GA

5/8-11 HCLN GR A

2шт.

17

B18254

NEEDLE BEARING,Needle, 25.4mm ID x 31.75mm OD x 25.4mm W

BEARING - needle

1шт.

18

700114599

BUSHING,16.27mm ID x 25.55mm OD x 38mm L

- needle

1шт.

19

697494R91

OIL SEAL

SEAL

2шт.

20

219-93

LUBE NIPPLE,90 Degree Elbow, 1/4" - 28 NPTF

1шт.

21

700122164

LINK

ASSEMBLY (Includes items 17, 18, 19 and 20)

1шт.

Выбрано товаров: 21