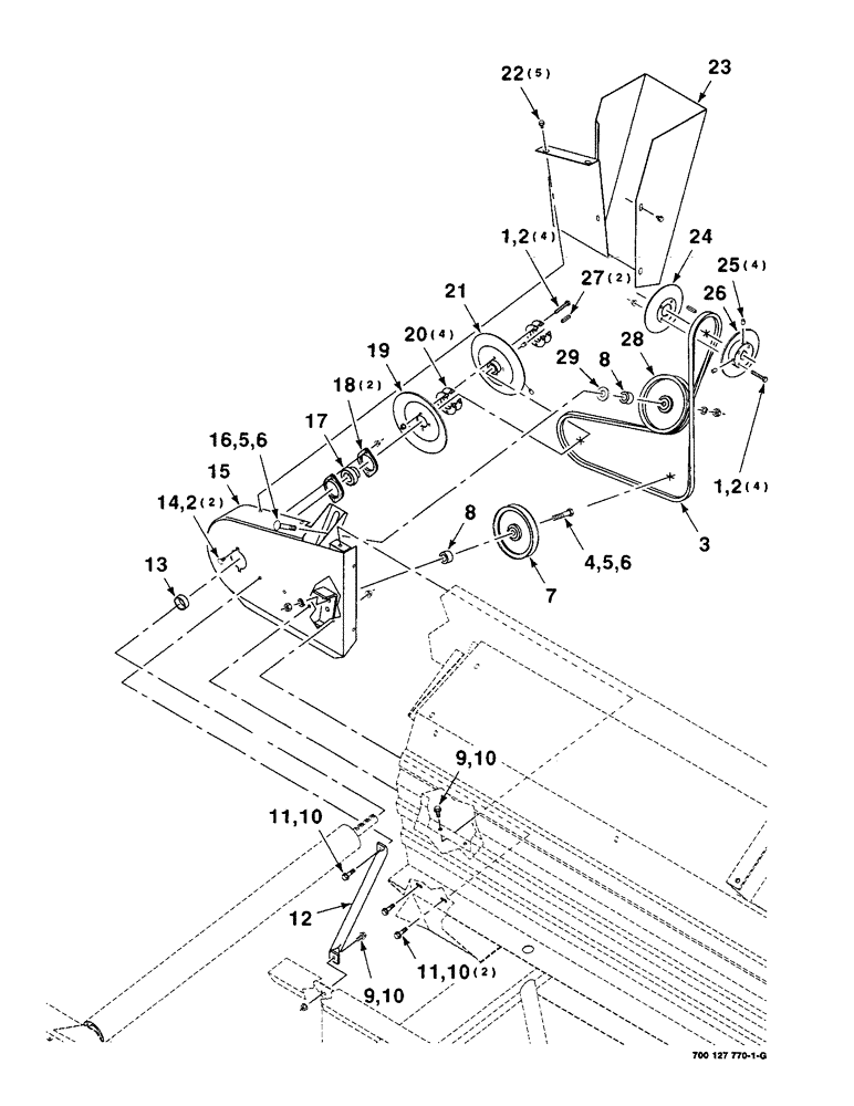
Запчасти Case IH 8220 (5-08) - DRAPER DRIVE ASSEMBLY, LEFT, 21 AND 25 FOOT ONLY (58) - ATTACHMENTS/HEADERS

Схема запчастей Case IH 8220 - (5-08) - DRAPER DRIVE ASSEMBLY, LEFT, 21 AND 25 FOOT ONLY (58) - ATTACHMENTS/HEADERS
6
14
2
10
1
11
16
21
10
10
2
8
5
7
8
23
4
26
12
22
2
24
1
18
29
15
9
28
9
25
6
5
17
19
27
13
20
3
11
10
FIT
1:1
100%

Артикул

Название

Примечание

Количество

1

7773930

BOLT

5/16-18 X 2 FTC

8шт.

2

231-5145

SERRATED NUT,Flg, USR, 5/16"-18

NUT, Flg, USR, 5/16"-18

10шт.

3

700710498

V-BELT,2082.80 mm L

1шт.

4

413-836

BOLT,Hex, 1/2" - 13 x 2-1/4", Gr 5

1шт.

5

80679

LOCK WASHER,1/20.507 CST ZND

WASHER, LOCK, 1/2"

2шт.

6

425-108

NUT,1/2" - 13, Gr 5

NUT, , Hex 1/2"-13, G5

2шт.

7

51200825

PULLEY

SHEAVE

1шт.

8

6840847

BUSHING

SPACER

2шт.

9

409-7612

BOLT,3/8"-16 x 1.09" OAL

3/8-16 X 3/4 HWHMS

2шт.

10

232-5316

FLANGE NUT,Flg, 3/8"-16

3/8-16 HFTLN GR/G

5шт.

11

121-237

SERRATED BOLT,Hex, 3/8" - 16 x 1 1/4, Spcl

3/8-16 X 1-1/4 HFS GR8

3шт.

12

700122434

TUBE,623 mm Length

1шт.

13

158766

SPACER

1шт.

14

433-512

CARRIAGE BOLT,Sq Nk, 5/16" - 18 x 3/4", Gr 5

2шт.

15

700126019

SUPPORT

WA - left

1шт.

16

433-836

CARRIAGE BOLT,Sq Nk, 1/2" - 13 x 2 1/4", Gr 5

1/2-13 X 2-1/4 RHSNB

1шт.

17

710301

SPHERICAL BEARING

BEARING - spherical

1шт.

18

50591

FLANGE,52mm

2шт.

19

700122194

SHEAVE

- half

1шт.

20

700122195

SHIM

4шт.

21

700122045

ROLLER

SHEAVE WA - roller

1шт.

22

256873

BOLT,Hex Serr, 5/16" - 18 x 1/2", 5SPL, Full Thd

5шт.

23

700126013

SHIELD

WA - left

1шт.

24

700122193

SHEAVE

- half

1шт.

25

83-616

SET SCREW,Hex Soc, 3/8"-16 x 1"

3/8-16 X 1 CPHSSS

4шт.

26

700122191

SHEAVE

WA

1шт.

27

O3312AB

KEY

1/4 X 1/4 X 1-1/2 KEY

2шт.

28

54122

PULLEY

IDLER - flat

1шт.

29

396-21066

WASHER,16.66mm ID x 33.33mm OD x 4.27mm Thk

- 5/8" bolt size 21/32" x 1 5/16" x .150", HDN

1шт.

Выбрано товаров: 29