Запчасти Case IH 8220 (7-02) - HITCH, JACK AND U-JOINT ASSEMBLY (58) - ATTACHMENTS/HEADERS

Схема запчастей Case IH 8220 - (7-02) - HITCH, JACK AND U-JOINT ASSEMBLY (58) - ATTACHMENTS/HEADERS
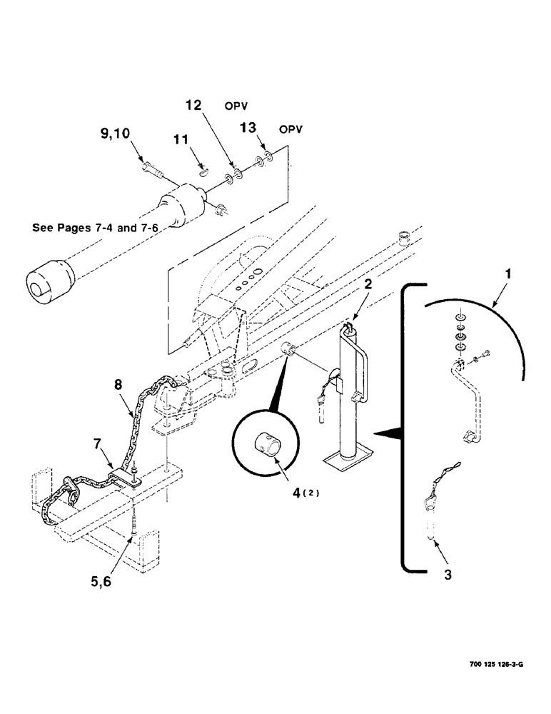
7
12
9
10
5
2
6
1
4
8
3
11
13
FIT
1:1
100%

Артикул

Название

Примечание

Количество

1

700711826

JACK

KIT - service, T.W.

1шт.

2

700706826

JACK

1шт.

3

700706640

PIN

AND CHAIN ASSEMBLY

1шт.

4

6227391

TUBE,2" OD, 1.88" Length

- wa

2шт.

5

413-1056

BOLT,Hex, 5/8" - 11 x 3-1/2", Gr 5

1шт.

6

230-41110

LOCK NUT,5/8"-11, GA

5/8-11 HTLN GR/B

1шт.

7

148558C1

CLEVIS

- safety, chain

1шт.

8

700705598

CHAIN (CE)

CHAIN - safety

1шт.

9

703736

BOLT,Hex, 1/2" - 13 x 2 3/4", Gr 5

1/2-13 X 2-3/4 C

1шт.

10

231-5148

FLANGE NUT,Flg, USR, 1/2"-13

GR/F Flg, USR, 1/2"-13

1шт.

11

126-36

WOODRUFF KEY,#23, 5/16" x 1 3/8"

1шт.

12

495-81205

WASHER,32.54mm ID x 50.8mm OD x 1.7mm Thk

1-1/4 X 18 GAUGE NRMB

1шт.

13

495-81205

WASHER,32.54mm ID x 50.8mm OD x 1.7mm Thk

1-1/4 X 14 GAUGE NRMB

1шт.

Выбрано товаров: 13