Запчасти Case IH 8220 (7-22) - FLOTATION SPRING ASSEMBLY, 21 FOOT ONLY (58) - ATTACHMENTS/HEADERS

Схема запчастей Case IH 8220 - (7-22) - FLOTATION SPRING ASSEMBLY, 21 FOOT ONLY (58) - ATTACHMENTS/HEADERS
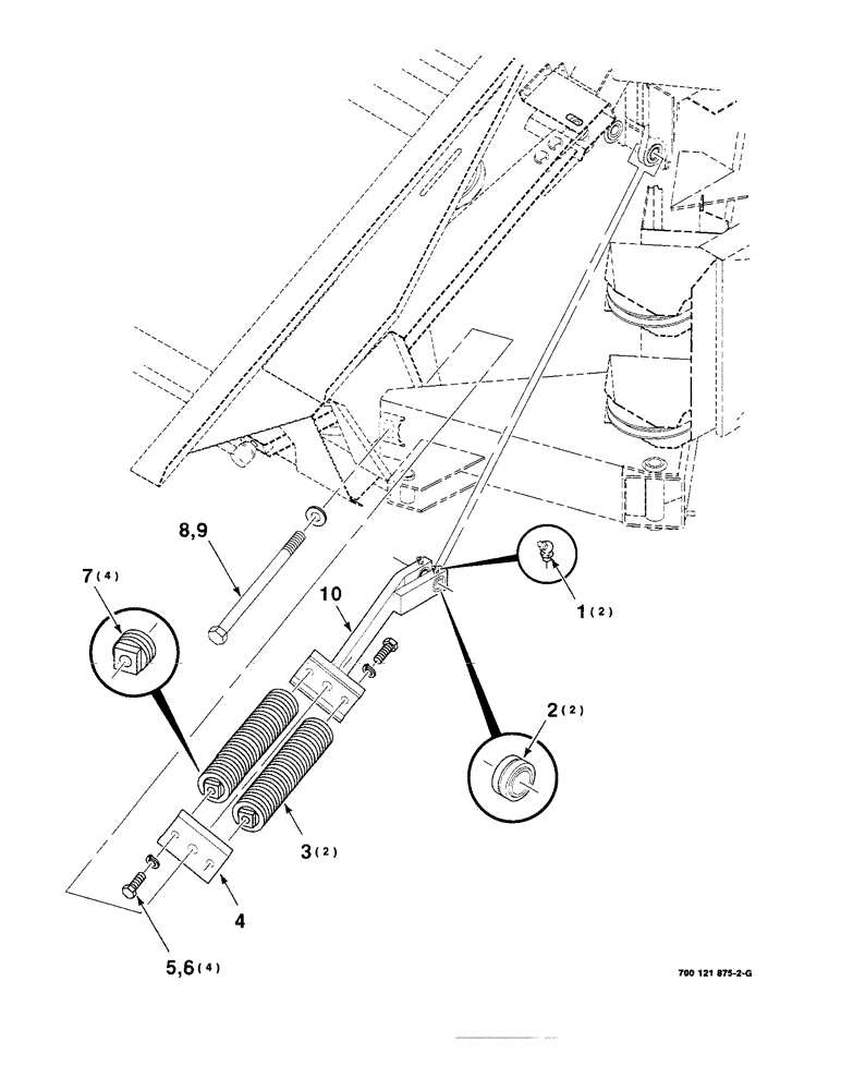
1
7
5
4
10
3
8
9
2
6
FIT
1:1
100%

Артикул

Название

Примечание

Количество

1

219-90

LUBE NIPPLE,45 Degree Elbow, 1/4" -28 NPTF

1/4-28 X 45 DEGREE ZERK

2шт.

2

D22200

BEARING,25.4mm ID x 36.5mm OD x 22.23mm L

BUSHING

2шт.

3

428433

SPRING

ASSEMBLY (Includes item 7)

2шт.

4

700122183

CHANNEL

WA

1шт.

5

413-1232

BOLT,Hex, 3/4" - 10 x 2", Gr 5

4шт.

6

492-11075

LOCK WASHER,3/4"

3/4"

4шт.

7

378778

SPRING

PLUG - spring

4шт.

8

700710215

BOLT

1-8 X 14 B

1шт.

9

495-21106

WASHER,1"

1 HARDENED PLAIN WASHER

1шт.

10

700122186

CHANNEL

ASSEMBLY (Includes items 1 and 2)

1шт.

Выбрано товаров: 10