Запчасти Case IH 8820 (9-148) - PICKUP REEL KIT, 18, UNIVERSAL HARVESTER S/N 224700 AND LATER, TO BE ORDEREDTHRU WHOLEGOODS ONLY (58) - ATTACHMENTS/HEADERS

Схема запчастей Case IH 8820 - (9-148) - PICKUP REEL KIT, 18, UNIVERSAL HARVESTER S/N 224700 AND LATER, TO BE ORDEREDTHRU WHOLEGOODS ONLY (58) - ATTACHMENTS/HEADERS
19
7
19
13
10
9
20
18
15
11
12
8
17
11
19
2
4
4
14
1
4
5
10
21
3
6
4
16
22
3
FIT
1:1
100%

Артикул

Название

Примечание

Количество

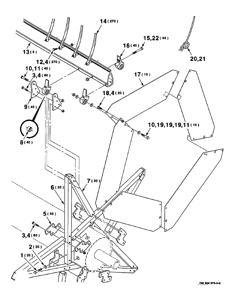
HK60651

REEL

PICKUP REEL COMPLETE - 18 ft.

1шт.

1

700708893

SCREW

5/16-18 X 1-3/4 BOLT - lock

20шт.

2

700708890

WASHER

5/16 WASHER - special

20шт.

3

413-424

BOLT,Hex, 1/4" - 20 x 1-1/2", Gr 5

140шт.

4

230-4214

LOCK NUT,1/4"-20, GA

NUT, LOCK, 1/4"-20, GA

430шт.

5

700708865

COVER PLATE

PLATE - inner

40шт.

6

700708870

ARM

- bat

20шт.

7

700708871

ARM

BRACE - arm, bat

20шт.

8

700713276

BALL BEARING

BEARING

40шт.

9

700708863

COVER PLATE

PLATE - tip

40шт.

10

413-528

BOLT,Hex, 5/16" - 18 x 1-3/4", Gr 5

50шт.

11

230-4215

NUT,5/16"-18, GA

5/16-18 HCLN

50шт.

12

51200165

SCREW,Hex, 1/4"-20 x 1", G5

1/4-20 X 1 C

270шт.

13

700716863

BAT

(18 foot)

5шт.

14

700714195

TINE

- plastic

270шт.

15

703769

SCREW

5/16-18 X 2-3/4 C

40шт.

16

700716861

HOLDER

- bearing (Includes item 8)

40шт.

17

700716867

SHIELD

- end

10шт.

18

440-1258

SCREW,Cross Pan Hd, 1/4"-20 x 1/2"

1/4-20 X 1/2 CRPHMS

20шт.

19

496-21034

WASHER,11/32" x 11/16" x 0.89", HDN

30шт.

20

700712427

TINE

- wire (Optional - single)

1шт.

21

700712428

TINE

- wire (Optional - box of 300)

1шт.

22

232-5315

FLANGE NUT,Flg, 5/16"-18

5/16-18 HFTLN GR/G

40шт.

Выбрано товаров: 23