Качественные детали и логистика
Оригинальные и аналоговые запчасти с доставкой по России, Казахстану и Беларуси
©2022 PartSell ООО "Система" ИНН 2463123282 ОГРН 1212400004838
Центральный офис: г. Красноярск, Академика Киренского, д.87, пом.4
Телефон: 8 (800) 777-65-74 Email: zakaz@partsell.ru
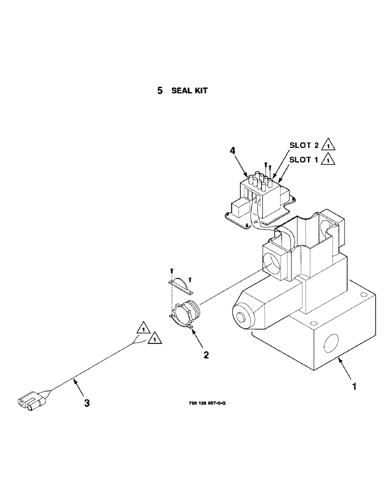
(9-22) - HARNESS VALVE ASSEMBLY
№
Артикул
Название
Примечание
Количество
1
700711412
VALVE, CHECK
VALVE - solenoid (Includes items 4 & 5)
1шт.
2
700711574
CLAMP
- cord, connector
3
700711409
HARNESS
- wire, valve
4
700712470
SOLENOID
5
700712469
SEAL
KIT
Выбрано товаров: 0