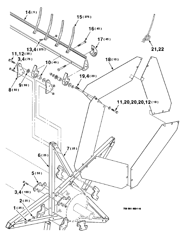
Запчасти Case IH 8820 (3-16) - REEL ASSY., 25, PICKUP W/ BUSHING BEARING, 25 PICKUP REEL COMPLETE, INCLUDES PAGES 3-16 THRU 3-18 (09) - CHASSIS

Схема запчастей Case IH 8820 - (3-16) - REEL ASSY., 25, PICKUP W/ BUSHING BEARING, 25 PICKUP REEL COMPLETE, INCLUDES PAGES 3-16 THRU 3-18 (09) - CHASSIS
7
4
15
20
6
18
1
11
16
8
12
20
10
3
3
11
9
20
14
4
4
19
4
2
22
21
12
17
13
5
FIT
1:1
100%

Артикул

Название

Примечание

Количество

1

700708893

SCREW

5/16-18 X 1-3/4 BOLT - lock

25шт.

2

700708890

WASHER

5/16 WASHER - special

25шт.

3

413-424

BOLT,Hex, 1/4" - 20 x 1-1/2", Gr 5

175шт.

4

230-4214

LOCK NUT,1/4"-20, GA

NUT, LOCK, 1/4"-20, GA

570шт.

5

700708865

COVER PLATE

PLATE - inner

50шт.

6

700708870

ARM

- bat

25шт.

7

700708871

ARM

BRACE - arm, bat

25шт.

8

700708863

COVER PLATE

PLATE - tip

50шт.

9

700708866

BUSHING

- shoulder

90шт.

10

700708868

BUSHING

- bearing

45шт.

11

413-528

BOLT,Hex, 5/16" - 18 x 1-3/4", Gr 5

45шт.

12

230-4215

NUT,5/16"-18, GA

5/16-18 HCLN

45шт.

13

51200165

SCREW,Hex, 1/4"-20 x 1", G5

1/4-20 X 1 C

375шт.

14

700708900

BAT

(25 FOOT)

5шт.

15

700714195

TINE

- plastic

375шт.

16

700708902

SCREW

5/16-18 X 2-1/2 SELF TAPPING SCREW

45шт.

17

700708861

HOLDER

- bearing

45шт.

18

8745416

SHIELD

- end

10шт.

19

440-1258

SCREW,Cross Pan Hd, 1/4"-20 x 1/2"

1/4-20 X 1/2 CRPHMS

20шт.

20

496-21034

WASHER,11/32" x 11/16" x 0.89", HDN

30шт.

21

700712427

TINE

- wire (Optional - single)

1шт.

22

700712428

TINE

- wire (Optional - box of 300)

1шт.

Выбрано товаров: 22