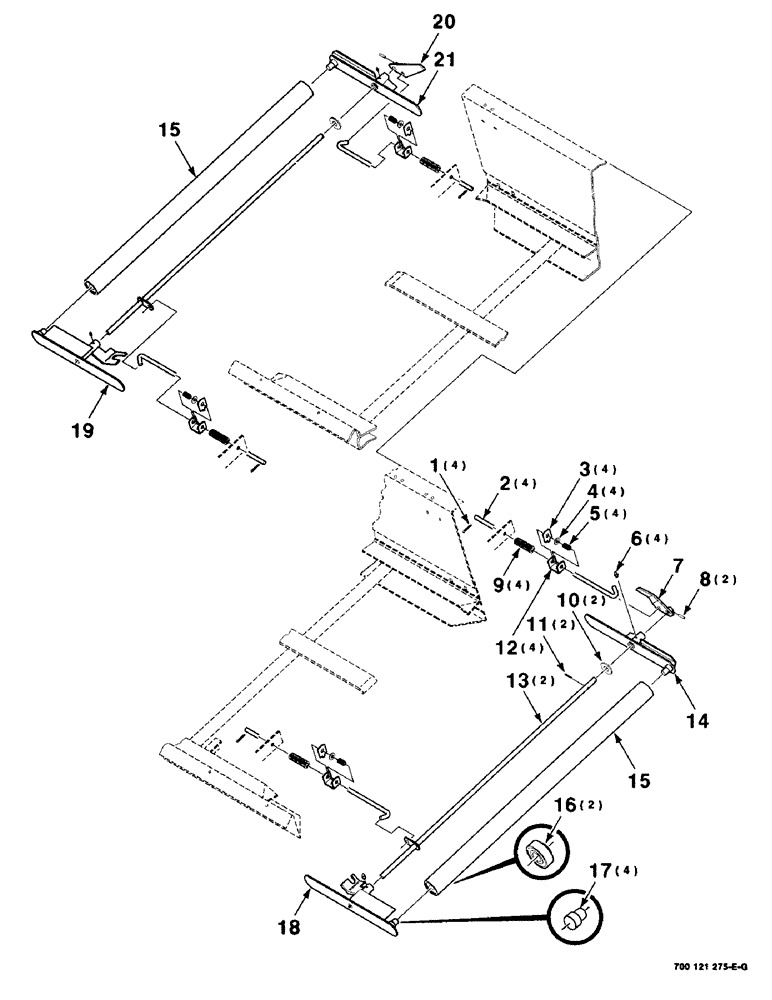
Запчасти Case IH 8820 (6-14) - DRAPER ROLLER ASSEMBLY, OUTER, ALL HEADER LENGTHS, SERIAL NUMBER CFH0050872 AND LATER (09) - CHASSIS

Схема запчастей Case IH 8820 - (6-14) - DRAPER ROLLER ASSEMBLY, OUTER, ALL HEADER LENGTHS, SERIAL NUMBER CFH0050872 AND LATER (09) - CHASSIS
4
5
8
15
6
16
20
19
15
1
13
11
17
21
9
10
7
12
3
14
2
18
FIT
1:1
100%

Артикул

Название

Примечание

Количество

1

432-816

COTTER PIN,1/8" x 1"

1/8" x 1"

4шт.

2

700121230

ROD

4шт.

3

700121229

LOCK

TAB

4шт.

4

95-81100

WASHER,33/64" x 7/8" x .049"

1/2 X 18 GAUGE MACHINE BUSHING

4шт.

5

700703267

COMPRESSION SPRING

SPRING - compression

4шт.

6

86636814

LUBE NIPPLE,1/4"-28 x .52" lg

NIPPLE, LUBE, 1/4"-28 x .52" lg

4шт.

7

700121315

ARM

1шт.

8

38-11216

LOCK PIN,3/16" x 1", Slotted

PIN, 3/16" x 1", Slotted

2шт.

9

700707580

SPRING

- compression

4шт.

10

396-21066

WASHER,16.66mm ID x 33.33mm OD x 4.27mm Thk

- 5/8" bolt size 21/32" x 1 5/16" x .150", HDN

2шт.

11

62224

PIN, SPLIT (COTTER)

3/16 X 1 COTTER PIN

2шт.

12

700121227

CLIP

4шт.

13

700121254

SHAFT

ROD

2шт.

14

700121219

ARM

- draper, left rear (Includes item 17)

1шт.

15

700115392

ROLLER

- draper, outer (Includes item 16) (Replaces 700121235)

2шт.

16

586156R92

BEARING, ROLLER, CYL,0.7505" ID x 47 mm OD x 0.8437, 0.53125"

BEARING - sealed

2шт.

17

700107939

SPINDLE

4шт.

18

700130788

ARM

- draper, left front (Includes item 17)

1шт.

19

700130789

ARM

- draper, right front (Includes item 17)

1шт.

20

700121317

ARM

1шт.

21

700121222

ARM

- draper, right rear (Includes item 17)

1шт.

Выбрано товаров: 21