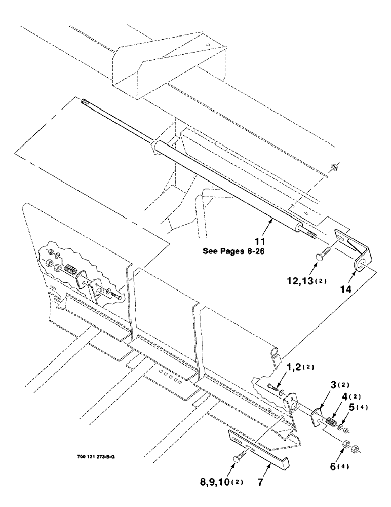
Запчасти Case IH 8820 (6-22) - DRAPER SHIFTER ASSEMBLY, 30 FOOT, CYLINDER MOUNTING (09) - CHASSIS

Схема запчастей Case IH 8820 - (6-22) - DRAPER SHIFTER ASSEMBLY, 30 FOOT, CYLINDER MOUNTING (09) - CHASSIS
7
5
1
2
4
14
8
10
11
9
12
6
13
3
FIT
1:1
100%

Артикул

Название

Примечание

Количество

1

413-524

BOLT,Hex, 5/16" - 18 x 1-1/2", Gr 5

2шт.

2

230-4115

LOCK NUT,5/16"-18, GA

5/16-18 HTLN GR/B

2шт.

3

700115411

CLIP

2шт.

4

700708573

COMPRESSION SPRING

SPRING - compression

2шт.

5

496-21034

WASHER,11/32" x 11/16" x 0.89", HDN

4шт.

6

425-108

NUT,1/2" - 13, Gr 5

NUT, 1/2"-13, G5

4шт.

7

700116990

BRACKET

ANGLE

1шт.

8

434-616

CARRIAGE BOLT,Sht Sq Nk, 3/8" - 16 x 1", Gr 5

3/8-16 X 1 RHSNB

2шт.

9

492-11038

LOCK WASHER,3/8"

2шт.

10

425-106

NUT,3/8"-16, Cl 5

2шт.

11

700709846

CYLINDER

ASSEMBLY - hydraulic

1шт.

12

433-816

CARRIAGE BOLT,Sq Nk, 1/2" - 13 x 1", Gr 5

1/2-13 X 1 RHSNB

2шт.

13

231-5148

FLANGE NUT,Flg, USR, 1/2"-13

2шт.

14

700118839

SUPPORT

RETAINER

1шт.

Выбрано товаров: 0