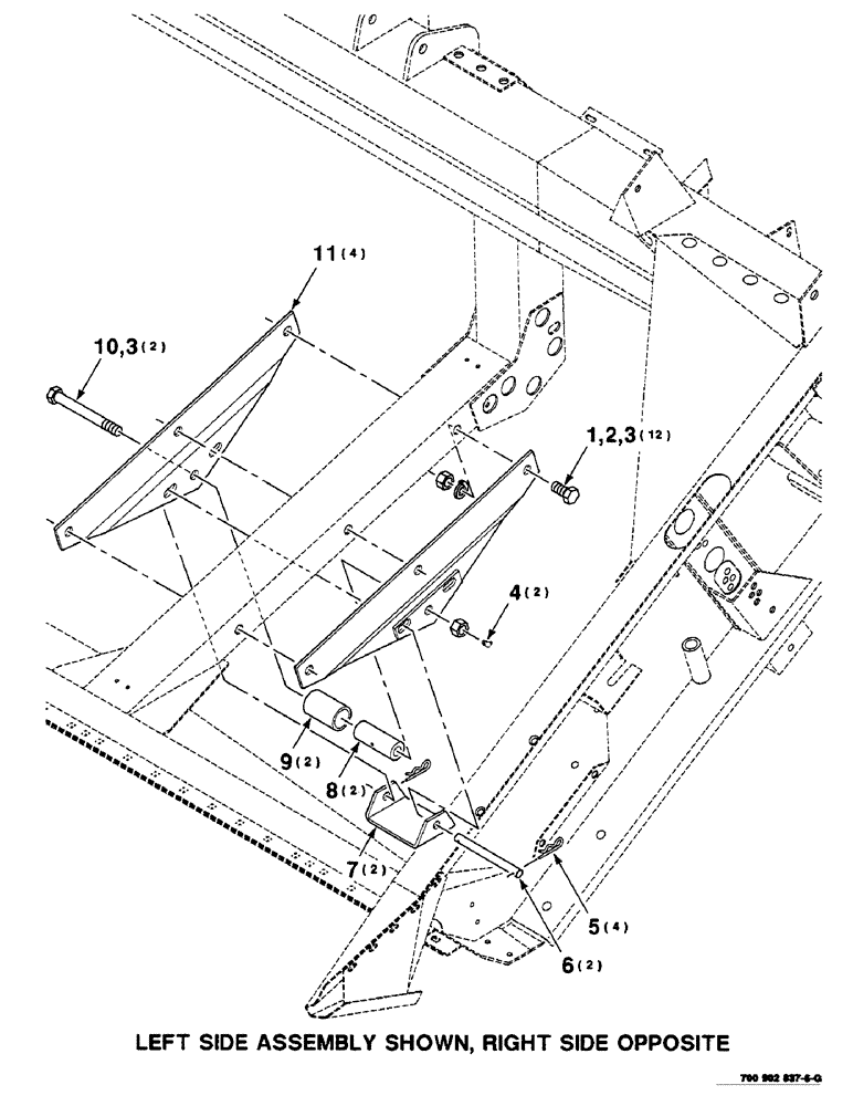
Запчасти Case IH 8830 (9-092) - LOWER HEADER SUPPORT PIVOT ASSEMBLY (58) - ATTACHMENTS/HEADERS

Схема запчастей Case IH 8830 - (9-092) - LOWER HEADER SUPPORT PIVOT ASSEMBLY (58) - ATTACHMENTS/HEADERS
8
1
2
6
9
3
7
10
5
11
4
FIT
1:1
100%

Артикул

Название

Примечание

Количество

1

413-1224

BOLT,Hex, 3/4" - 10 x 1-1/2", Gr 5

3/4-10 X 1-1/2 C

12шт.

2

492-11075

LOCK WASHER,3/4"

3/4"

12шт.

3

425-1012

NUT,3/4"-10, G5

14шт.

4

219-93

LUBE NIPPLE,90 Degree Elbow, 1/4" - 28 NPTF

2шт.

5

S120261

PIN

.148 WIRE HAIR PIN COTTER

4шт.

6

700119558

PIN

- safety

2шт.

7

700119071

SUPPORT

CHANNEL - safety

2шт.

8

700116884

BUSHING

- inner

2шт.

9

6185508

BUSHING

2шт.

10

700110562

SCREW

3/4-10 X 6-1/2 B-SPECIAL

2шт.

11

700119063

SUPPORT

WA

4шт.

Выбрано товаров: 0