Запчасти Case IH 8830 (9-004) - DECALS AND LOCATION DIAGRAM, LEFT SIDE (90) - PLATFORM, CAB, BODYWORK AND DECALS

Схема запчастей Case IH 8830 - (9-004) - DECALS AND LOCATION DIAGRAM, LEFT SIDE (90) - PLATFORM, CAB, BODYWORK AND DECALS
1
5
6
3
7
2
4
FIT
1:1
100%

Артикул

Название

Примечание

Количество

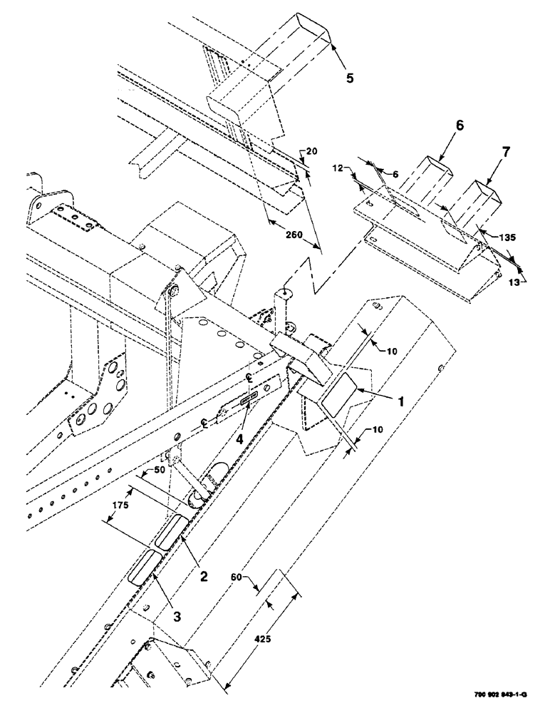
1

700711190

DECAL

- sickle belt, left

1шт.

2

7778368

DECAL

1шт.

3

700713551

DECAL

- danger

1шт.

4

700706023

DECAL

- safety stop

1шт.

5

700711193

DECAL

- caution

1шт.

6

700710420

DECAL

- notice

1шт.

7

7078777

REFLECTOR

- red

1шт.

Выбрано товаров: 7