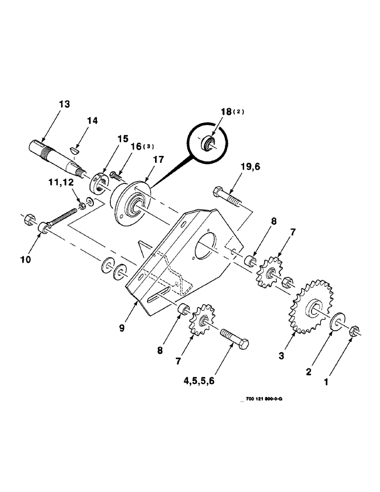
Запчасти Case IH 8830 (9-024) - HAY CONDITIONER DRIVE ASSEMBLY (58) - ATTACHMENTS/HEADERS

Схема запчастей Case IH 8830 - (9-024) - HAY CONDITIONER DRIVE ASSEMBLY (58) - ATTACHMENTS/HEADERS
6
12
11
5
4
2
8
5
10
1
13
7
18
16
14
19
15
9
17
6
8
7
3
FIT
1:1
100%

Артикул

Название

Примечание

Количество

1

425-1512

JAM NUT,Jam, 3/4"-10, G5

3/4-16 HEX JAM NUT

1шт.

2

705566

WASHER

3/4 HARDENED PLAIN WASHER

1шт.

3

700121808

SPROCKET ASSY.

SPROCKET - 60C24 tooth

1шт.

4

413-1052

BOLT,Hex, 5/8" - 11 x 3-1/4", Gr 5

5/8-11 X 3-1/4 C

1шт.

5

396-21066

WASHER,16.66mm ID x 33.33mm OD x 4.27mm Thk

- 5/8" bolt size 21/32" x 1 5/16" x .150", HDN

2шт.

6

425-1010

NUT,5/8"-11, G5

2шт.

7

154113C91

DRIVE SPROCKET

SPROCKET - idler, 60C13 tooth

2шт.

8

700121805

SPACER

2шт.

9

700121801

PLATE

WA - support

1шт.

10

700121804

SPECIAL BOLT

3/8-16 DRAWBOLT WA

1шт.

11

425-106

NUT,3/8"-16, Cl 5

1шт.

12

496-11041

WASHER,13/32" x 13/16" x .065", HDN

3/8 HARDENED PLAIN WASHER

1шт.

13

700110604

SHAFT

- middle

1шт.

14

126-124

WOODRUFF KEY,#15, 1/4" x 1", HT

1шт.

15

700706353

COLLAR

- clamped, threaded

1шт.

16

413-612

BOLT,Hex, 3/8" - 16 x 3/4", Gr 5

3шт.

17

700111975

BEARING ASSY

HOUSING ASM - bearing (Includes item 18)

1шт.

18

563883R91

BALL BEARING,31.75mm ID x 62mm OD x 16mm W

BEARING - cylindrical

2шт.

19

413-1048

BOLT,Hex, 5/8" - 11 x 3", Gr 5

1шт.

Выбрано товаров: 0