Запчасти Case IH 1010 (09C-06) - AUGER DRIVE (09) - CHASSIS/ATTACHMENTS

Схема запчастей Case IH 1010 - (09C-06) - AUGER DRIVE (09) - CHASSIS/ATTACHMENTS
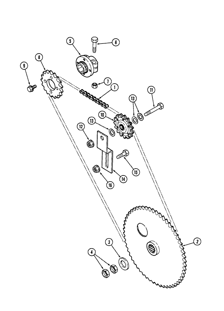
9
4
1
13
14
7
10
12
2
5
15
3
6
8
13
16
11
FIT
1:1
100%

Артикул

Название

Примечание

Количество

1

NSS

NOT SOLD SEPARAT

Chain Assy

1шт.

With 40 T Sprocket Use 79 Links of 611362R91, 1 x 241-1316

1шт.

With 45 T Sprocket Use 81 Links of 611362R91, 1 x 241-1316

1шт.

With 50 T Sprocket Use 83 Links of 611362R91, 1 x 241-1316

1шт.

With 56 T Sprocket Use 85 Links of 611362R91, 2 x 241-1316

1шт.

1

611362R91

CHAIN (AG)

roller, #60 (10 foot bulk)

1шт.

1

241-1316

LINK,19.05mm Pitch

#60 single pitch

1шт.

1

241-1116

LINK,Chain, 19.05mm Pitch

#60

1шт.

2

87450164

DRIVEN SPROCKET

auger 56T (Standard), Start Serial: CBJ023001

1шт.

2

106056A1

SPROCKET

auger drive 50T (Optional)

1шт.

2

106057A1

SPROCKET

auger drive 45T (Optional)

1шт.

2

106058A1

SPROCKET

auger drive 40T (Optional)

1шт.

3

496-21106

WASHER,1 1/16" x 2" x .209", HDN

1шт.

4

87553819

JAM NUT

1"-8 Hex, Jam

2шт.

5

125966A1

HUB

auger and knife drive

1шт.

6

9706716

BOLT,Hex, 1/2" - 13 x 2", Gr 5

2шт.

7

280431

NUT,1/2"-13, G5

2шт.

8

125990A1

SPROCKET

auger drive, 17 tooth

1шт.

9

1319250C1

LOCK BOLT,Hex, Flg, 3/8" - 16 x 1", W/ Scotch Grip

hex flange, special, 3/8" NC x 1"

4шт.

10

86627870

DRIVEN SPROCKET,15T

idler, 15 tooth, Start Serial: CBJ023001

1шт.

11

87975

BOLT,Hex, 1/2" - 13 x 2 1/4", Gr 5

1шт.

12

131-943

FLANGE NUT,Flg, 1/2"-13, G5

1шт.

13

87364

WASHER,0.53" ID x 1.06" OD x 0.1" Thk

3шт.

14

128261A3

BRACKET

idler sprocket

1шт.

15

87670

BOLT,1/2" - 13 x 1-1/4", Full Thd, Gr 5

1шт.

16

131-943

FLANGE NUT,Flg, 1/2"-13, G5

1шт.

17

495-81213

WASHER,35.71mm ID x 50.8mm OD x 1.7mm Thk

2шт.

Выбрано товаров: 27