Запчасти Case IH 1010 (09B-07A) - CUTTER BAR KIT 3" W/O KNIFE 20FT (09) - CHASSIS/ATTACHMENTS

Схема запчастей Case IH 1010 - (09B-07A) - CUTTER BAR KIT 3" W/O KNIFE 20FT (09) - CHASSIS/ATTACHMENTS
9
15
10
3
13
1
7
17
14
12
8
5
4
2
6
11
16
6
4
FIT
1:1
100%

Артикул

Название

Примечание

Количество

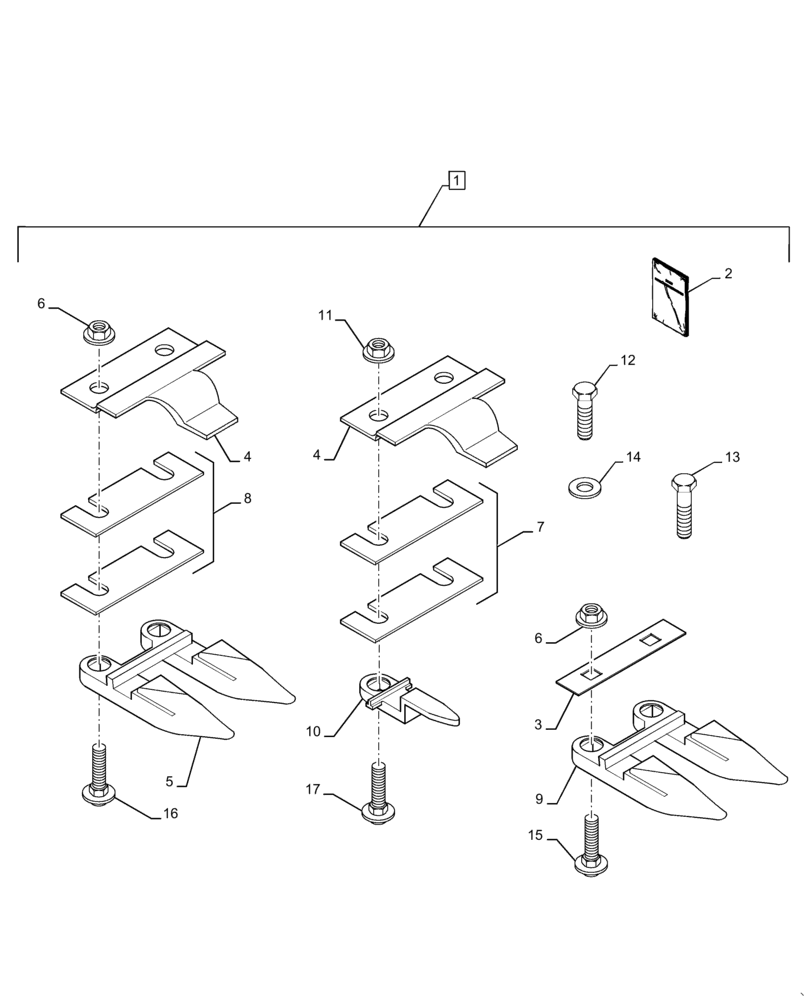
1

B92922E

KIT

Incl 2 - 17

1шт.

2

PM-1051

INSTRUCTION

1шт.

3

126628C1

SHIM

Knife Hold Down .90

40шт.

4

1307280C3

KNIFE CLIP

19шт.

5

1307299C2

GUARD

37шт.

6

86637767

FLANGE NUT

84шт.

7

1316039C1

SHIM

57шт.

8

1316040C1

SHIM,38.1mm OD x 2.1mm Thk

.067

19шт.

9

87442329

GUARD

Guard End

3шт.

10

1338269C1

GUARD

Stub

2шт.

11

280980

NUT,7/16"-14, GC

2шт.

12

326-1036

BOLT,Hex, 5/8" - 11 x 2-1/4", Gr 8

2шт.

13

326-1044

BOLT,Hex, 5/8" - 11 x 2-3/4", Gr 8

2шт.

14

87613283

WASHER,0.66" ID x 1.31" OD x 0.15" Thk

2шт.

15

88586

CARRIAGE BOLT,Sq Nk, 7/16" - 14 x 1 1/2", Gr 5

42шт.

16

86508778

CARRIAGE BOLT,Sq Nk, 7/16" - 14 x 1 3/4", Gr 5

38шт.

17

434-732

CARRIAGE BOLT,Sht Sq Nk, 7/16" - 14 x 2", Gr 5

2шт.

Выбрано товаров: 17