Запчасти Case IH 1010 (09C-02) - AUGER FINGERS, RETRACTABLE (09) - CHASSIS/ATTACHMENTS

Схема запчастей Case IH 1010 - (09C-02) - AUGER FINGERS, RETRACTABLE (09) - CHASSIS/ATTACHMENTS
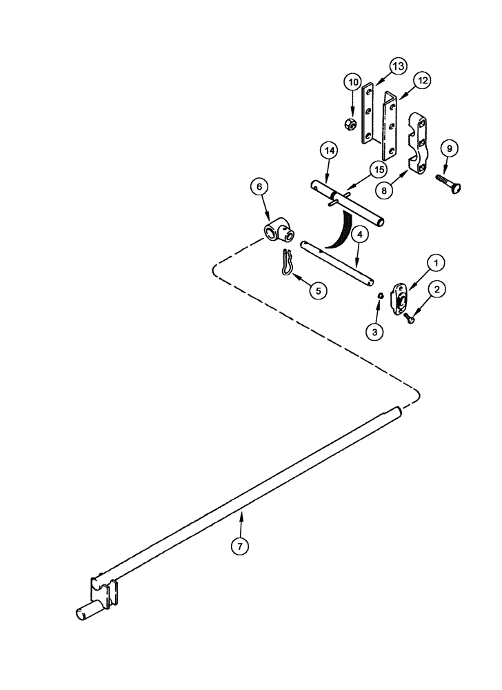
14
13
9
6
2
4
15
10
5
8
7
1
3
12
FIT
1:1
100%

Артикул

Название

Примечание

Количество

1

1307259C2

GUIDE

finger

20шт.

2

88542

BOLT,Hex, 1/4"-20 x 1/2", Gr 5

1шт.

3

127550

NUT,Tee, 1/4"-20

1шт.

4

1320699C1

FINGER

retractable, Serial Range: -JJC0308544

20шт.

5

185309A1

HAIR PIN COTTER

Quick Attachable

20шт.

6

1308425C1

HUB

auger finger

20шт.

7

1316383C1

SHAFT

auger finger

1шт.

8

1326467C1

CLAMP

finger shaft

1шт.

9

280504

CARRIAGE BOLT,Sq Nk, 1/2" - 13 x 2 1/4", Gr 5

3шт.

10

86992215

LOCK NUT,1/2"-13, GC

3шт.

12

1320698C1

ANGLE

auger finger shaft, Serial Range: -JJC0308544

1шт.

13

87441009

PLATE

auger tube

1шт.

14

NSS

NOT SOLD SEPARAT

Finger

1шт.

15

38-1822

PIN,1/8" OD x 1-3/8" L, Slotted

1шт.

16

434295A2

FINGER ASSY.,31.75mm OD x 227mm L

auger retractable, Start Serial: JJC0306000

20шт.

Not Shown

1шт.

Includes 14, 15

1шт.

Выбрано товаров: 17