Запчасти Case IH 1010 (9-089A) - AUGER FINGERS, MODELS WITH AUGER DRIVE ON RIGHT-HAND SIDE OF HEADER, SPLIT KNIFE AND AUGER DRIVE (58) - ATTACHMENTS/HEADERS

Схема запчастей Case IH 1010 - (9-089A) - AUGER FINGERS, MODELS WITH AUGER DRIVE ON RIGHT-HAND SIDE OF HEADER, SPLIT KNIFE AND AUGER DRIVE (58) - ATTACHMENTS/HEADERS
3
9
6
5
10
4
7
8
12
11
2
1
FIT
1:1
100%

Артикул

Название

Примечание

Количество

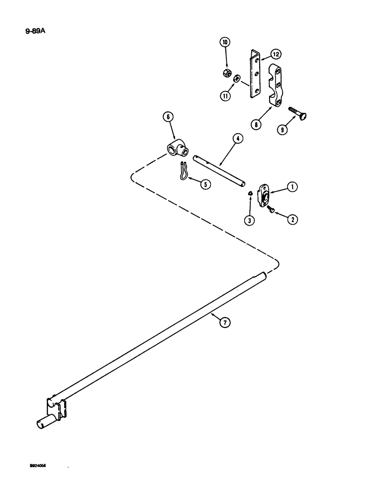
1

1307259C2

GUIDE

- fingers

18шт.

2

413-48

BOLT,Hex, 1/4" - 20 x 1/2", Gr 5

- hex, 1/4 NC x 1/2 inch

36шт.

3

127550

NUT,Tee, 1/4"-20

- tee, 1/4 inch NC

36шт.

4

1320699C1

FINGER

- retractable

18шт.

5

150724C1

SPLIT PIN/SAFETY PIN

PIN - cotter, quick attachable

18шт.

6

1308425C1

HUB

- finger

20шт.

7

1316383C1

SHAFT

ASSEMBLY - finger

1шт.

8

1326467C1

CLAMP

BAR - finger shaft

1шт.

9

433-836

CARRIAGE BOLT,Sq Nk, 1/2" - 13 x 2 1/4", Gr 5

BOLT - round head square neck, 1/2 NC x 2-1/4 inch

3шт.

10

9413967

LOCK NUT,1/2"-13, GB

NUT - prevailing torque lock, 1/2 inch NC

3шт.

11

496-21053

WASHER,17/32" x 1 1/16" x .134"

- flat, 17/32 x 1-1/16 x 1/8 inch

3шт.

12

1320698C1

ANGLE

- finger drive shaft

1шт.

Выбрано товаров: 12