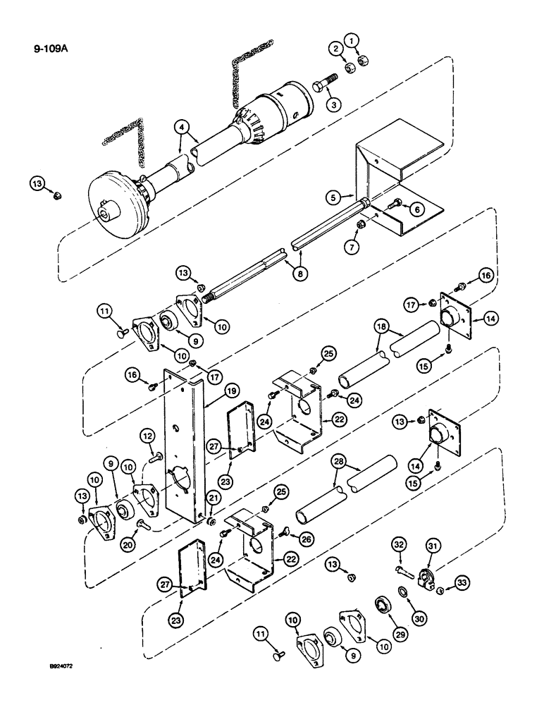
Запчасти Case IH 1010 (9-109A) - AUGER JACKSHAFT DRIVE, MOUNTED ON RIGHT-HAND SIDE OF HEADER, 30.0 FOOT HEADER (58) - ATTACHMENTS/HEADERS

Схема запчастей Case IH 1010 - (9-109A) - AUGER JACKSHAFT DRIVE, MOUNTED ON RIGHT-HAND SIDE OF HEADER, 30.0 FOOT HEADER (58) - ATTACHMENTS/HEADERS
31
13
9
25
17
11
3
13
14
16
26
10
21
19
27
5
15
29
23
8
10
25
22
24
32
4
9
24
6
2
7
30
18
27
14
17
13
1
10
22
15
13
33
9
10
10
28
10
16
11
12
23
13
24
20
FIT
1:1
100%

Артикул

Название

Примечание

Количество

1

9413971

LOCK NUT,3/4"-10, GB

NUT - hex, self-locking, 3/4 inch NC

1шт.

2

425-1012

NUT,3/4"-10, G5

- hex, 3/4 inch NC

1шт.

3

413-1256

BOLT,Hex, 3/4" - 10 x 3-1/2", Gr 5

1шт.

4

106043A1

DRIVE SHAFT

JOINT ASSEMBLY - drive shaft (See Figure 9-121A)

1шт.

5

106023A1

SHIELD

- clutch

1шт.

6

409-7412

BOLT,Hex Flg, 1/4" - 20 x 3/4", Spcl

- hex, 1/4 NC x 3/4 inch

2шт.

7

938016R1

FLANGE NUT,Flg, USR, 1/4"-20

- flange, lock, 1/4 inch

2шт.

8

106071A1

JACKSHAFT

SHAFT - jackshaft

1шт.

9

156816C91

BEARING HOUSING,28.6mm Hex x 72mm OD x 25mm W

BEARING ASSEMBLY - jackshaft

3шт.

10

180955C1

FLANGED BEARING,0.375"

FLANGE - jackshaft bearing

6шт.

11

434-616

CARRIAGE BOLT,Sht Sq Nk, 3/8" - 16 x 1", Gr 5

BOLT - round head square neck, 3/8 NC x 1 inch

6шт.

12

434-620

CARRIAGE BOLT,Sht Sq Nk, 3/8" - 16 x 1 1/4", Gr 5

BOLT, CARRIAGE, Short NK, 3/8"-16 x 1 1/4", G5, Full Thd

3шт.

13

482256R1

BEARING LOCK NUT,Flg, USR, 3/8"-16

- flanged hex lock, 3/8 inch NC

12шт.

14

1320880C1

SHIELD

ASSEMBLY - J-shaft shield

2шт.

15

174856C1

BOLT,Hex Serr, 5/16" - 18 x 1/2"

- flanged hex, 5/16 NC x 1/2 inch

2шт.

16

202107C1

BOLT,Hex Serr Flg, 5/16" - 18 x 3/4"

- hex flanged lock, 5/18 NC x 3/4 inch

5шт.

17

938017R1

FLANGE NUT,Flg, USR, 5/16"-18

- flanged hex lock, 5/16 inch NC

5шт.

18

1320875C1

TUBE,48.26 mm OD, 681 mm Length

- jackshaft shield, 26-5/16 inch

1шт.

19

106088A1

SUPPORT

- jackshaft, inner

1шт.

20

434-816

CARRIAGE BOLT,Sht Sq Nk, 1/2" - 13 x 1", Gr 5

BOLT - carriage, 1/2 NC x 1 inch

1шт.

21

487374R1

BEARING LOCK NUT,Flg, USR, 1/2"-13

- hex flange lock, 1/2 inch NC

1шт.

22

106073A1

SHIELD

- drive hub

2шт.

23

106072A1

SHIELD

COVER - shield

2шт.

24

409-7412

BOLT,Hex Flg, 1/4" - 20 x 3/4", Spcl

- hex, 1/4 NC x 3/4 inch

6шт.

25

938016R1

FLANGE NUT,Flg, USR, 1/4"-20

- flange, lock, 1/4 inch

4шт.

26

62372C1

THUMB SCREW

- thumb, 1/4 x 1/2 inch

2шт.

27

564791R1

SPRING NUT

- speed, 1/4 inch

4шт.

28

1320876C1

TUBE,48.26 mm OD, 928 mm Length

- jackshaft shield, 36-1/2 inch

1шт.

29

935856R1

BUSHING

- drive shaft

1шт.

30

575186R1

SNAP RING

RING - retaining, slip clutch

1шт.

31

1327106C1

COLLAR

- shaft, main

1шт.

32

326-640

BOLT,Hex, 3/8" - 16 x 2-1/2", Gr 8

1шт.

33

9413979

LOCK NUT,3/8"-16, GC

NUT - hex lock, 3/8 inch NC, Grade 8

1шт.

Выбрано товаров: 33