Запчасти Case IH 1010 (8-18) - REEL LIFT SLAVE CYLINDER (35) - HYDRAULIC SYSTEMS

Схема запчастей Case IH 1010 - (8-18) - REEL LIFT SLAVE CYLINDER (35) - HYDRAULIC SYSTEMS
4
6
1
3
2
7
5
FIT
1:1
100%

Артикул

Название

Примечание

Количество

128726A1

HYDRAULIC CYLINDER

CYLINDER ASSEMBLY - 25 (1) ID x 238 mm (9-3/8 inch) stroke, reel lift, slave

1шт.

128726A2R

REMAN-HYD CYLINDER

1010 S/N JJC0200001 THROUGH JJC0300000, Reman for New PN 128726A1

1шт.

128726A2C

CORE-HYD CYLINDER

Return Number

1шт.

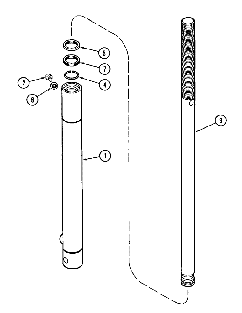
1

NSS

NOT SOLD SEPARAT

BODY - cylinder

1шт.

2

463-1104

SCREW,Hex Hd, #10-24 x 1/4"

1шт.

3

128727A1

PISTON ROD

ROD - piston

1шт.

4

145190C1

SNAP RING

RING - retaining

1шт.

532531R92

SEAL KIT

KIT - seal

1шт.

5

532773R1

WIPER SEAL

WIPER - piston rod

1шт.

6

533145R1

RUBBER WASHER,5.59mm ID x 10.72mm OD x 1.37mm Thk

- rubber bonded

1шт.

7

119185C1

SEAL,26.18mm ID x 32.17mm OD x 4.66mm Thk

- piston rod

1шт.

Выбрано товаров: 11