Запчасти Case IH 1010 (9B-20) - KNIFE JACKSHAFT DRIVE, 17.5 AND 20.0 FOOT HEADER (58) - ATTACHMENTS/HEADERS

Схема запчастей Case IH 1010 - (9B-20) - KNIFE JACKSHAFT DRIVE, 17.5 AND 20.0 FOOT HEADER (58) - ATTACHMENTS/HEADERS
16
35
5
12
36
32
2
46
13
7
45
8
19
34
2
1
2
47
18
15
27
4
1
22
9
3
5
2
23
FIT
1:1
100%

Артикул

Название

Примечание

Количество

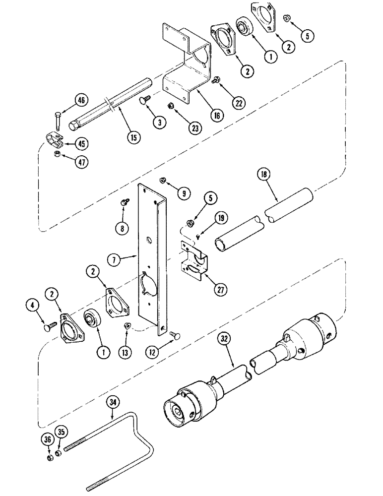
1

156816C91

BEARING HOUSING,28.6mm Hex x 72mm OD x 25mm W

BEARING - ball, jackshaft

2шт.

2

180955C1

FLANGED BEARING,0.375"

FLANGE - bearing

4шт.

3

434-616

CARRIAGE BOLT,Sht Sq Nk, 3/8" - 16 x 1", Gr 5

BOLT - carriage, 3/8 NC x 1 inch

3шт.

4

434-620

CARRIAGE BOLT,Sht Sq Nk, 3/8" - 16 x 1 1/4", Gr 5

BOLT, CARRIAGE, Short NK, 3/8"-16 x 1 1/4", G5, Full Thd

3шт.

5

231-5146

FLANGE NUT,3/8"-16

6шт.

7

1307339C1

SUPPORT

- jackshaft

1шт.

8

409-7512

BOLT,Hex Flg, 5/16" - 18 x 3/4", Spcl

- hex serrated flange, 5/16 NC x 3/4 inch

2шт.

9

231-5145

SERRATED NUT,Flg, USR, 5/16"-18

NUT - hex serrated flange, 5/16 inch NC

2шт.

12

434-816

CARRIAGE BOLT,Sht Sq Nk, 1/2" - 13 x 1", Gr 5

BOLT - carriage, 1/2 NC x 1 inch

1шт.

13

231-5148

FLANGE NUT,Flg, USR, 1/2"-13

1шт.

15

125970A1

JACKSHAFT

BAR - jackshaft (17.5 foot)

1шт.

15

125971A1

JACKSHAFT

BAR - jackshaft (20.0 foot)

1шт.

16

138654A1

SUPPORT

- knife drive

1шт.

18

125982A1

TUBE,48.26 mm OD, 448 mm Length

- jackshaft shield (17.5 foot)

1шт.

18

125983A1

TUBE,48.26 mm OD, 829 mm Length

- jackshaft shield (20.0 foot)

1шт.

19

282-1448

SELF-TAP SCREW,Hex Wash Hd, #8 x 1/2"

SCREW - self tapping, No. 8-18 x 1 inch

1шт.

21

409-7620

BOLT,Hex Flg, 3/8" - 16 x 1 1/4", Spcl

- hex serrated flange, 3/8 NC x 1-1/4 inch

1шт.

22

409-7616

BOLT,Hex Flg, 3/8" - 16 x 1", Spcl

3шт.

23

231-5146

FLANGE NUT,3/8"-16

4шт.

27

125992A1

SUPPORT

SHIELD - jackshaft

1шт.

32

REF

INSTRUCTION

DRIVE SHAFT ASSEMBLY - knife (See Page 9B-29 through 9B-33)

1шт.

34

138005A1

HANGER

- drive line

1шт.

35

425-108

NUT,1/2" - 13, Gr 5

NUT, , Hex 1/2"-13, G5

2шт.

36

231-4118

LOCK NUT,1/2"-13, GB

NUT - hex, self-locking, 1/2 inch NC

2шт.

45

225265R1

CLAMP

- jackshaft

1шт.

46

413-840

BOLT,Hex, 1/2" - 13 x 2-1/2", Gr 5

- hex, 1/2 NC x 2-1/2 inch

1шт.

47

231-4118

LOCK NUT,1/2"-13, GB

NUT - hex, self-locking, 1/2 inch NC

1шт.

Выбрано товаров: 27