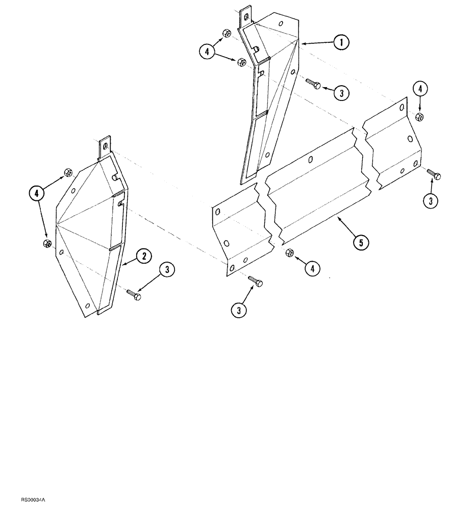
Запчасти Case IH 1015 (9-044) - FEEDER FACE DEFLECTOR, FOR 1420, 1440, 1460 AND 1480 COMBINE (58) - ATTACHMENTS/HEADERS

Схема запчастей Case IH 1015 - (9-044) - FEEDER FACE DEFLECTOR, FOR 1420, 1440, 1460 AND 1480 COMBINE (58) - ATTACHMENTS/HEADERS
3
3
4
4
2
5
1
4
4
3
3
FIT
1:1
100%

Артикул

Название

Примечание

Количество

1326598C91

KIT

DEFLECTOR ATTACHMENT, feeder face, Includes Ref: 1-5

1шт.

1

184853C1

DEFLECTOR

front, left hand

1шт.

2

184854C1

DEFLECTOR

front, right hand

1шт.

3

135270

SERRATED SCREW,5/16" - 18 x 3/4"

slotted truss head, 5/16 NC x 3/4 inch

11шт.

4

231-5145

SERRATED NUT,Flg, USR, 5/16"-18

11шт.

5

181669C1

SHIELD

feeder adapter, 1480 combine only

1шт.

5

1319220C1

SHIELD

feeder adapter, 1420 1440 and 1460 combine

1шт.

Выбрано товаров: 7