Запчасти Case IH 1020 (9C-14) - AUGER AND KNIFE JACKSHAFT DRIVE, 15 AND 16-1/2 FOOT HEADER (58) - ATTACHMENTS/HEADERS

Схема запчастей Case IH 1020 - (9C-14) - AUGER AND KNIFE JACKSHAFT DRIVE, 15 AND 16-1/2 FOOT HEADER (58) - ATTACHMENTS/HEADERS
47
10
37
3
34
2
46
45
5
22
42
35
6
2
43
40
39
1
16
3
5
32
44
24
1
17
48
38
31
2
14
11
2
23
41
16
20
36
FIT
1:1
100%

Артикул

Название

Примечание

Количество

1

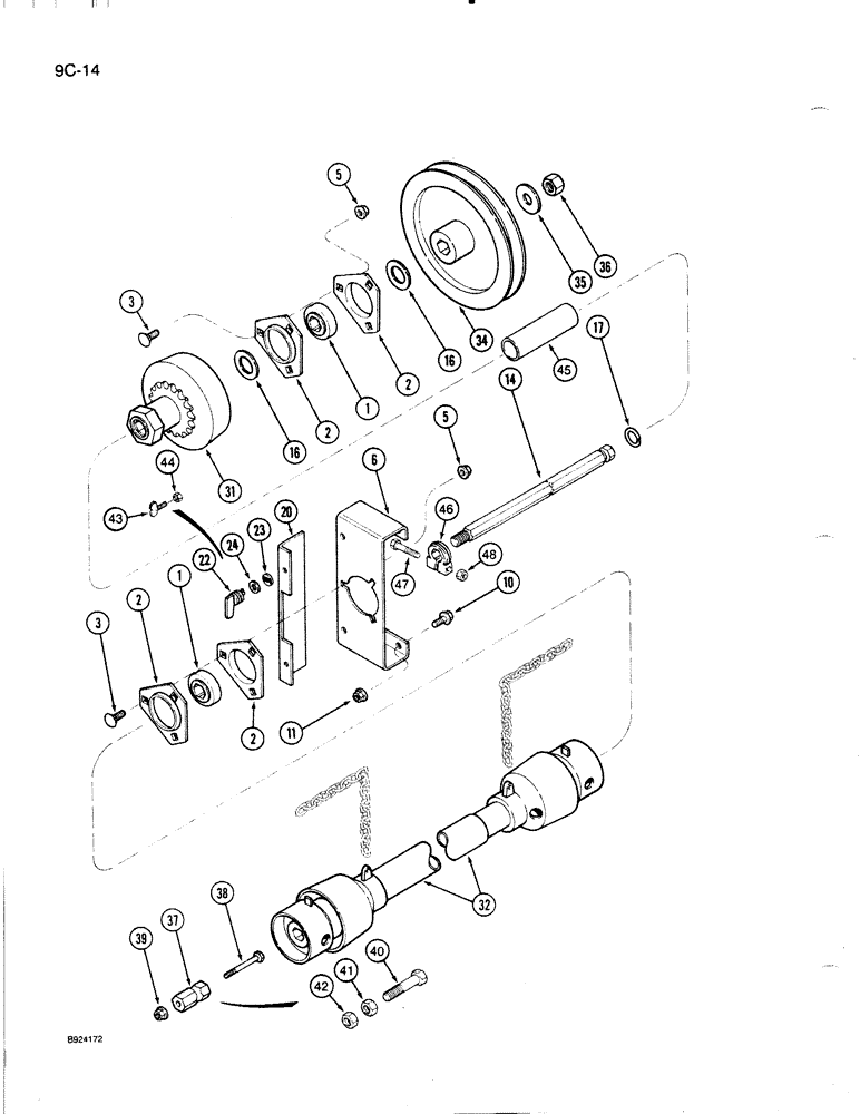
156816C91

BEARING HOUSING,28.6mm Hex x 72mm OD x 25mm W

BEARING ASSEMBLY - jackshaft

2шт.

2

180955C1

FLANGED BEARING,0.375"

FLANGE - jackshaft bearing

4шт.

3

434-616

CARRIAGE BOLT,Sht Sq Nk, 3/8" - 16 x 1", Gr 5

BOLT - round head square neck, 3/8 NC x 1 inch

6шт.

5

482256R1

BEARING LOCK NUT,Flg, USR, 3/8"-16

- flanged hex lock, 3/8 inch NC

6шт.

6

1320892C1

SUPPORT

ASSEMBLY - jackshaft (Replaces 1326617C1)

1шт.

10

154273C1

BOLT,Hex Serr, 3/8" - 16 x 1", Spcl

- hex lock, 3/8 NC x 1 inch

2шт.

11

482256R1

BEARING LOCK NUT,Flg, USR, 3/8"-16

- flanged hex lock, 3/8 inch NC

2шт.

14

1320905C2

SHAFT

- jackshaft (Replaces 1320905C1)

1шт.

16

495-81213

WASHER,35.71mm ID x 50.8mm OD x 1.7mm Thk

- flat, 1-13/32 x 2 x 3/64 inch (Replaces 608085R1)

2шт.

16

608085R1

WASHER

- flat, 1-13/32 x 2 x 3/64 inch

2шт.

17

575186R1

SNAP RING

RING - retaining, slip clutch

1шт.

20

1326597C1

SHIELD

- clutch

1шт.

22

1316776C1

STUD

- shield fastener, if used

2шт.

23

1316777C1

LOCKING RING

RETAINER - shield, if used

4шт.

24

95-81068

WASHER,0.34" ID x 0.66" OD x 0.02" Thk

- flat, 11/32 x 21/32 x 1/64 inch (Replaces Q3817), if used

1шт.

31

REF

INSTRUCTION

CLUTCH ASSEMBLY - with sprocket (See Page 9C-10)

1шт.

32

REF

INSTRUCTION

JOINT ASSEMBLY - drive shaft (See Pages 9C-23 through 9C-27)

1шт.

34

REF

INSTRUCTION

PULLEY ASSEMBLY - drive (See Page 9B-23)

1шт.

35

25557R1

WASHER,13/16" x 1 3/4" x .219", HDN

- flat, 13/16 x 1-3/4 x 1/4 inch

1шт.

36

131-1152

LOCK NUT,3/4"-10, GC

NUT, LOCK, 3/4"-10, GC

1шт.

37

1307385C1

SHAFT

PIN - U-joint support (If equipped)

1шт.

38

113-133

BOLT,Hex, 5/16" - 18 x 3-1/4", Gr 5

- hex, 5/16 NC x 3-1/4 inch, if used

1шт.

39

131-1215

LOCK NUT,5/16"-18, GC

NUT, LOCK, , If used 5/16"-18, GC

1шт.

40

413-1256

BOLT,Hex, 3/4" - 10 x 3-1/2", Gr 5

If used Hex, 3/4"-10 x 3 1/2", G5

1шт.

41

425-1012

NUT,3/4"-10, G5

- hex, 3/4 inch NC, if used

1шт.

42

9413971

LOCK NUT,3/4"-10, GB

NUT - hex, lock, 3/4 inch NC, if used

1шт.

43

176978C1

THUMB SCREW,5/16" - 18 x 0.75"

- thumb, 5/16 inch, if used

2шт.

44

488837C1

SPRING NUT

- speed, 5/16 inch, if used

2шт.

45

106025A1

SPACER

- retainer, used on models with split auger and knife drive, if used

1шт.

46

1327106C1

COLLAR

- shaft, main, if used

1шт.

47

326-640

BOLT,Hex, 3/8" - 16 x 2-1/2", Gr 8

If used Hex, 3/8"-16 x 2 1/2", G8

1шт.

48

9413979

LOCK NUT,3/8"-16, GC

NUT - hex lock, 3/8 inch NC, grade 8, if used

1шт.

Выбрано товаров: 32