Запчасти Case IH 1020 (8-16) - REEL LIFT MASTER CYLINDER (08) - HYDRAULICS

Схема запчастей Case IH 1020 - (8-16) - REEL LIFT MASTER CYLINDER (08) - HYDRAULICS
5
4
7
10
8
11
3
12
2
6
1
FIT
1:1
100%

Артикул

Название

Примечание

Количество

128723A1

HYDRAULIC CYLINDER

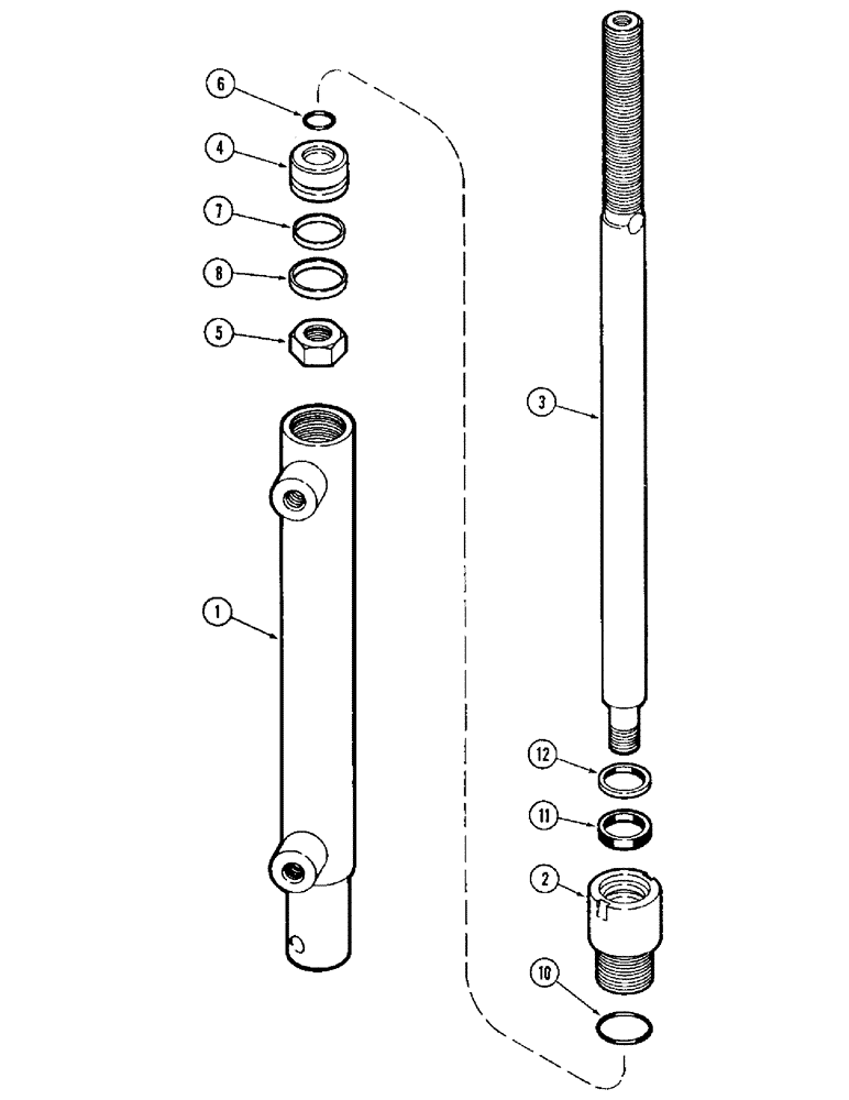
CYLINDER ASSEMBLY - 38 (1-1/2) ID x 238 mm (9-3/8 inch) stroke, reel lift, master, Includes: Ref. 1 - 12

1шт.

128723A3R

REMAN-HYD CYLINDER

1020 (S/N JJC0215001 TO JJC0227000), Reman for New PN 128723A1

1шт.

128723A3C

CORE-HYD CYLINDER

Return Number

1шт.

1

NSS

NOT SOLD SEPARAT

BODY - cylinder

1шт.

2

547384R1

CYLINDER HEAD

GLAND - cylinder

1шт.

3

128724A1

PISTON ROD

ROD - piston

1шт.

4

547333R3

PISTON

- cylinder

1шт.

5

548033R1

JAM NUT

NUT - hex jam, self locking, 3/4 inch NF

1шт.

6

238-6017

O-RING,0.07" Thk x 0.676" ID, -17, Cl 6, 90 Duro

1шт.

547388R94

SEAL KIT

KIT - seal, Includes: Ref. 7 - 12

1шт.

7

239-5123

O-RING,Square, 0.094" Thk x 1.188" ID, -123

SEAL - quad, 1-3/16 ID x 3/32 inch

1шт.

8

547383R2

SEALING RING,35.41mm ID x 38.71mm OD x 3.17mm Thk

RING - seal

1шт.

10

238-6126

O-RING,0.103" Thk x 1.362" ID, -126, Cl 6, 90 Duro

- 1-3/8 ID x 3/32 inch wide

1шт.

11

1272317C1

SEAL,28.7mm ID x 34.52mm OD x 4.52mm Thk

- rod

1шт.

12

564808R91

WIPER

- rod

1шт.

Выбрано товаров: 15