Запчасти Case IH 1020 (9A-28) - REEL FORE AND AFT ADJUSTMENT, HYDRAULIC (09) - CHASSIS/ATTACHMENTS

Схема запчастей Case IH 1020 - (9A-28) - REEL FORE AND AFT ADJUSTMENT, HYDRAULIC (09) - CHASSIS/ATTACHMENTS
9
8
3
5
8
1
7
18
7
10
6
9
10
2
10
3
FIT
1:1
100%

Артикул

Название

Примечание

Количество

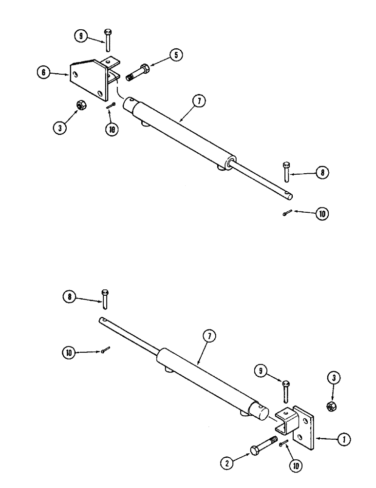
1

1316318C2

SUPPORT

- front, right-hand cylinder

1шт.

2

413-852

BOLT,Hex, 1/2" - 13 x 3-1/4", Gr 5

- hex, 1/2 NC x 3-1/4 inch

2шт.

3

231-4118

LOCK NUT,1/2"-13, GB

NUT - hex, self-locking, 1/2 inch NC

4шт.

5

413-848

BOLT,Hex, 1/2" - 13 x 3", Gr 5

- hex, 1/2 NC x 3 inch

2шт.

6

1316332C2

BRACKET

SUPPORT - rear, left-hand cylinder

1шт.

7

REF

INSTRUCTION

CYLINDER ASSEMBLY - reel fore and aft, See Figure 8-14

2шт.

8

439-5628

HEADED PIN,3/8" x 1 3/4"

PIN - headed, 3/8 x 1-3/4 inch

2шт.

9

439-1636

HEADED PIN,3/8" x 2 1/2", G2

PIN - headed, 3/8 x 2-1/4 inch, grade 2

2шт.

10

432-812

COTTER PIN,3/4" OAL x 1/8" W

PIN, SPLIT (COTTER), 1/8" x 3/4"

4шт.

Выбрано товаров: 9