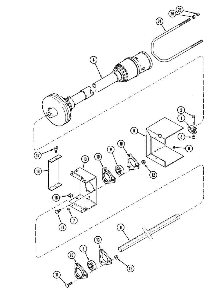
Запчасти Case IH 1020 (9C-14) - AUGER JACKSHAFT DRIVE, 15.0 AND 16.5 FOOT HEADER (09) - CHASSIS/ATTACHMENTS

Схема запчастей Case IH 1020 - (9C-14) - AUGER JACKSHAFT DRIVE, 15.0 AND 16.5 FOOT HEADER (09) - CHASSIS/ATTACHMENTS
24
8
17
12
25
1
11
9
3
10
10
2
6
13
18
4
10
26
5
9
16
10
11
7
12
FIT
1:1
100%

Артикул

Название

Примечание

Количество

1

225265R1

CLAMP

- jackshaft

1шт.

2

413-840

BOLT,Hex, 1/2" - 13 x 2-1/2", Gr 5

- hex, 1/2 NC x 2-1/2 inch

1шт.

3

231-4118

LOCK NUT,1/2"-13, GB

NUT - hex, self-locking, 1/2 inch NC

1шт.

4

REF

INSTRUCTION

DRIVE SHAFT ASSEMBLY - auger, See Figure 9C-22

1шт.

5

106023A2

SHIELD

- clutch

1шт.

6

409-7412

BOLT,Hex Flg, 1/4" - 20 x 3/4", Spcl

- hex serrated flange, 1/4 NC x 3/4 inch

2шт.

7

231-5144

SERRATED NUT,Flg, USR, 1/4"-20

2шт.

8

125975A1

JACKSHAFT

BAR - jackshaft

1шт.

9

156816C91

BEARING HOUSING,28.6mm Hex x 72mm OD x 25mm W

BEARING - ball, jackshaft

2шт.

10

180955C1

FLANGED BEARING,0.375"

FLANGE - bearing

4шт.

11

434-616

CARRIAGE BOLT,Sht Sq Nk, 3/8" - 16 x 1", Gr 5

BOLT - carriage, 3/8 NC x 1 inch

6шт.

12

231-5146

FLANGE NUT,3/8"-16

6шт.

13

106084A2

SUPPORT

- jackshaft

1шт.

14

154273C1

BOLT,Hex Serr, 3/8" - 16 x 1", Spcl

- hex, self-locking, special, 3/8 NC x 1 inch

2шт.

15

231-5146

FLANGE NUT,3/8"-16

2шт.

16

106087A1

SHIELD

- cover

1шт.

17

183-123

THUMB SCREW

- thumb with shoulder, 5/16 NC x 3/4 inch

2шт.

18

488837C1

SPRING NUT

- speed, 5/16 inch

2шт.

24

138005A1

HANGER

- drive line

1шт.

25

425-108

NUT,1/2" - 13, Gr 5

NUT, , Hex 1/2"-13, G5

2шт.

26

231-4118

LOCK NUT,1/2"-13, GB

NUT - hex, self-locking, 1/2 inch NC

2шт.

Выбрано товаров: 21