Качественные детали и логистика
Оригинальные и аналоговые запчасти с доставкой по России, Казахстану и Беларуси
©2022 PartSell ООО "Система" ИНН 2463123282 ОГРН 1212400004838
Центральный офис: г. Красноярск, Академика Киренского, д.87, пом.4
Телефон: 8 (800) 777-65-74 Email: zakaz@partsell.ru
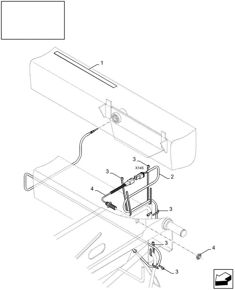
(18.84081677[01]) - DIA : REEL SYNCHRONISATION
№
Артикул
Название
Примечание
Количество
84081677
DIA KIT, HARVESTER
1шт.
1
401502
ANTI-SKID STRIP
L= 1.9 M
2
84077694
WIRE HARNESS
3
86566989
CABLE TIE,208mm L
CABLE STRAP
5шт.
4
84058862
SENSOR
Выбрано товаров: 0