Запчасти Case IH 2030 (20.03[01]) - REEL SYNCHRONISATION (20) - HEADER

Схема запчастей Case IH 2030 - (20.03[01]) - REEL SYNCHRONISATION (20) - HEADER
20.30
3
3
home
3
3
1
4
2
4
FIT
1:1
100%

Артикул

Название

Примечание

Количество

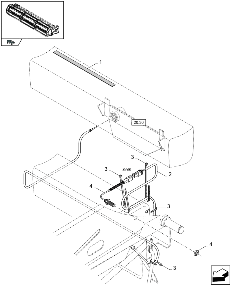
1

80401502

ANTI-SKID STRIP

L= 1.5 M

1шт.

2

84077694

WIRE HARNESS

1шт.

FOR 17 TO 24 FT ONLY

1шт.

2

84077696

WIRE HARNESS

1шт.

FOR 30 FT ONLY

1шт.

3

86566989

CABLE TIE,208mm L

CABLE STRAP

5шт.

4

84058862

SENSOR

REEL SYNCHRONISATION

1шт.

Выбрано товаров: 7