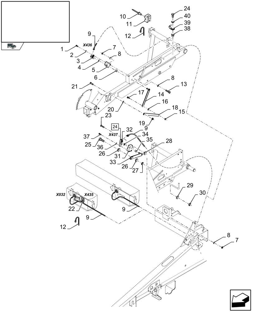
Запчасти Case IH 2040 (20.03A[01]) - REEL, HORIZONTAL AND VERTICAL SENSOR (20) - HEADER

Схема запчастей Case IH 2040 - (20.03A[01]) - REEL, HORIZONTAL AND VERTICAL SENSOR (20) - HEADER
18
31
8
36
35
15
8
26
12
8
14
9
7
17
38
10
home
13
27
24
26
28
29
25
7
23
9
19
1
5
37
9
9
22
16
4
3
6
32
33
21
24
39
40
11
34
2
30
12
20
FIT
1:1
100%

Артикул

Название

Примечание

Количество

1

86511042

SCREW,Pan Head, M4 x 0.7 x 16mm, Cl 4.8

2шт.

2

80322355

WASHER

4 MM

2шт.

3

86977396

POTENTIOMETER,3000 Ohm, 16 VDC

X437, Reel Horizontal Position

1шт.

4

86000439

SNAP RING,0.288" ID x 0.66" OD x 0.037" Thk, External

1шт.

5

86011325

BRACKET

, Serial Range: -C763

1шт.

5

84457806

SUPPORT

, Start Serial: D764

1шт.

6

86516740

BUSHING,9.55mm ID x 15.93mm OD x 19.05mm L

1шт.

7

15896221

NUT,Hex, M6, 5.20mm High, Cl 10

, Serial Range: -C951

4шт.

7

9706755

NUT,M6, Cl 8

, Start Serial: D952

4шт.

8

80322357

LOCK WASHER,Belleville, M6

6шт.

9

84454029

WIRE HARNESS

1шт.

FOR 2030 AND 2040 ONLY

1шт.

9

84454029

WIRE HARNESS

, Serial Range: -C835

1шт.

FOR 2050 ONLY

1шт.

9

87391757

WIRE HARNESS

, Start Serial: D836

1шт.

FOR 2050 ONLY

1шт.

10

445394

RIVET,Pop, 3/16" x 1/2" OAL

, Serial Range: -C909

3шт.

11

86590413

BASE,15.87mm W x 22.22mm OAL x 9.9mm Thk

, Serial Range: -C909

3шт.

12

86566989

CABLE TIE,208mm L

CABLE STRAP

1шт.

13

86977789

BOLT,Hex, M6 x 1.0 x 35mm, Cl 8.8

2шт.

14

84452646

ARM

1шт.

15

86629542

NUT,M8 x 1.25, Cl 8.8

1шт.

16

140016

WASHER,M8 x 16mm OD x 1.6mm Thk

, Serial Range: -C909

1шт.

16

86624184

WASHER,9mm ID x 16mm OD x 1.6mm Thk

, Start Serial: D910

1шт.

17

86636815

CARRIAGE BOLT,Sq Nk, M8 x 25mm, Cl 8.8, Full Thd

1шт.

18

84452549

ARM

1шт.

19

80100037

NUT,M10 x 1.5, Class 8

1шт.

20

140017

WASHER,M10 x 20mm OD x 2mm Thk

1шт.

FOR 2030 ONLY

1шт.

20

80140017

WASHER

10 MM, Serial Range: -C107

1шт.

FOR 2040 ONLY

1шт.

20

86624176

WASHER,11mm ID x 20mm OD x 2mm Thk

, Start Serial: D108

1шт.

FOR 2040 ONLY

1шт.

21

80043139

BOLT,M10 x 25mm

1шт.

22

86837775

RESISTOR

X435 - HEADER RECOGNITION

1шт.

23

80043118

SCREW

M6 x 40

2шт.

24

86977786

BOLT,Hex, M6 x 1 x 25mm, Cl 8.8

, Start Serial: D910

1шт.

25

80120090

SCREW

M16 x 50

1шт.

26

80140190

WASHER,17mm ID x 30mm OD x 4mm Thk

2шт.

27

80100095

NUT

M16

1шт.

28

89824259

WASHER

M6

2шт.

29

80140048

WASHER

16 MM

1шт.

30

100020

NUT,M16 x 2.0, Cl 8

1шт.

31

84457806

SUPPORT

1шт.

32

86977396

POTENTIOMETER,3000 Ohm, 16 VDC

X436, Reel Vertical Position

1шт.

33

84449356

ARM

1шт.

34

86000439

SNAP RING,0.288" ID x 0.66" OD x 0.037" Thk, External

1шт.

35

86516740

BUSHING,9.55mm ID x 15.93mm OD x 19.05mm L

1шт.

36

322355

BELLEVILLE WASHER,M4 Bolt Size x 10mm OD x 0.9mm Thk

2шт.

37

86511042

SCREW,Pan Head, M4 x 0.7 x 16mm, Cl 4.8

2шт.

38

9833239

THREADED INSERT

, Start Serial: D910

1шт.

39

86625035

CLAMP,12.7mm, Coat, 7.1mm Bolt Hole, P Type

, Start Serial: D910

1шт.

40

86588450

WASHER,6.6mm ID x 12mm OD x 1.6mm Thk

, Start Serial: D910

1шт.

Выбрано товаров: 53