Запчасти Case IH 2040 (20.10L[01]) - POWER TAKE -OFF - 20-24-30FT - F650751 (20) - HEADER

Схема запчастей Case IH 2040 - (20.10L[01]) - POWER TAKE -OFF - 20-24-30FT - F650751 (20) - HEADER
32
3
26
31
27
29
13
7
15
24
22
4
1
34
9
21
2
23
5
25
20
10
28
8
19
home
33
16
12
11
6
18
30
17
14
FIT
1:1
100%

Артикул

Название

Примечание

Количество

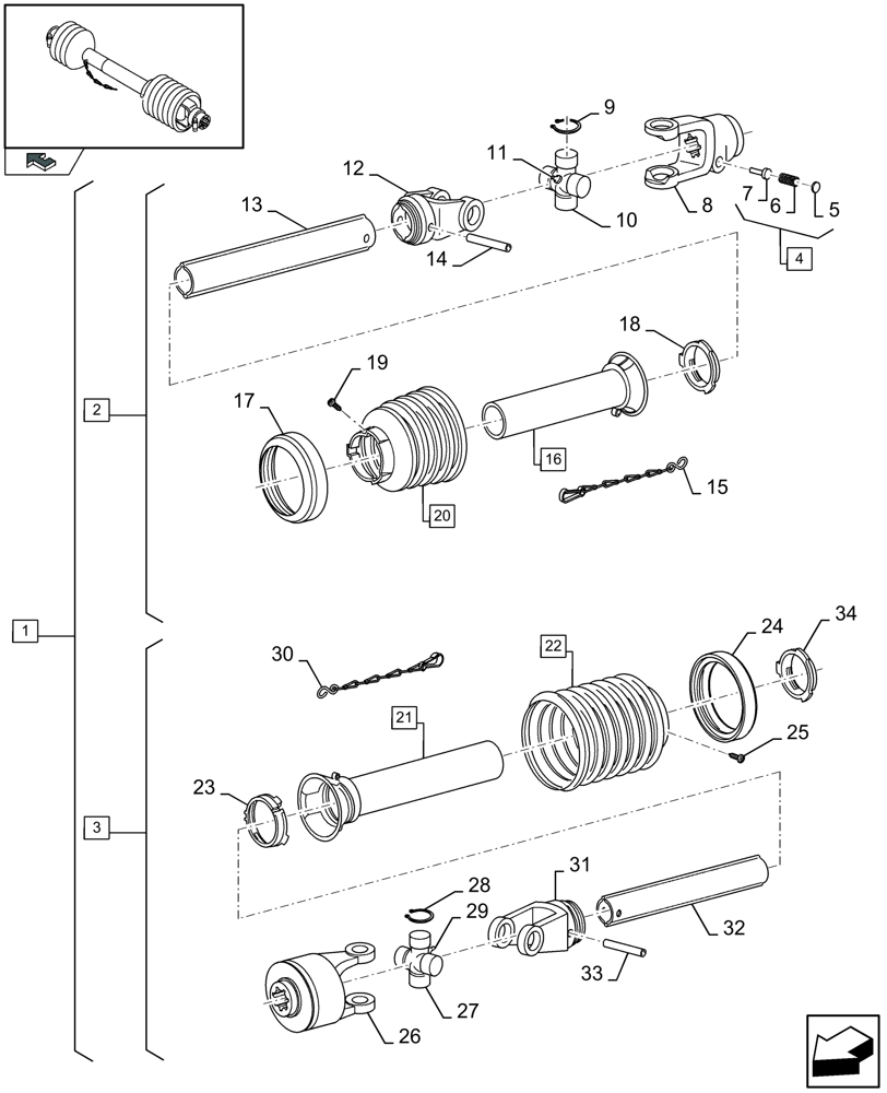
1

84400456

PTO SHAFT

(2 to 34)

1шт.

2

84444118

PTO SHAFT

(4 to 20)

1шт.

3

84444119

PTO SHAFT

(21 to 34)

1шт.

4

744051

KIT

(5 to 7)

1шт.

5

427846

DISC

1шт.

6

427847

SPRING

1шт.

7

427848

ROLL PIN

1шт.

8

84444122

YOKE

1шт.

9

456770

CIRCLIP

4шт.

10

161742

SPIDER

1шт.

MAINTENANCE PART

1шт.

11

150024

LUBE NIPPLE,45 Degree, M8 x 1

1шт.

12

PA556924

YOKE

1шт.

13

89833879

TUBE

1шт.

14

412690

PIN,10mm OD x 65mm L, Slotted

1шт.

15

379650

CHAIN

1шт.

16

84444120

PROTECTING COVER

(17 to 20)

1шт.

17

456679

COLLAR

1шт.

18

728164

RING

1шт.

19

321803

SCREW,Cross Pan Hd, M4 x 10

1шт.

20

84444124

PROTECTING COVER

(19)

1шт.

21

84444121

PROTECTING COVER

(22 to 25)

1шт.

22

84444126

PROTECTING COVER

(25)

1шт.

23

728164

RING

1шт.

24

456679

COLLAR

1шт.

25

321803

SCREW,Cross Pan Hd, M4 x 10

1шт.

26

84444123

PTO CLUTCH

1шт.

MAINTENANCE PART

1шт.

27

161742

SPIDER

1шт.

MAINTENANCE PART

1шт.

28

456770

CIRCLIP

4шт.

29

150024

LUBE NIPPLE,45 Degree, M8 x 1

1шт.

30

379650

CHAIN

1шт.

31

1326493C1

YOKE

1шт.

32

89833876

TUBE

1шт.

33

412690

PIN,10mm OD x 65mm L, Slotted

1шт.

34

84444125

RING

1шт.

Выбрано товаров: 37