Запчасти Case IH 2050 (20.16[01]) - WOBBLE BOX (20) - HEADER

Схема запчастей Case IH 2050 - (20.16[01]) - WOBBLE BOX (20) - HEADER
23
10
19
6
24
2
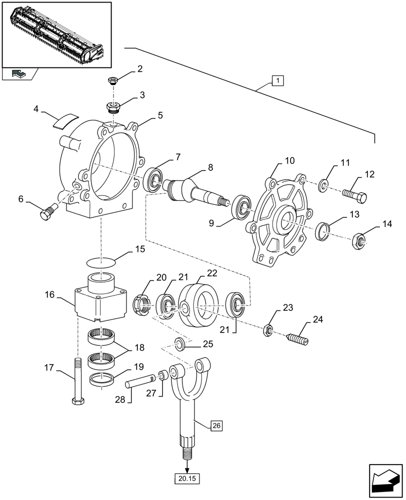
1
8
26
9
21
22
5
7
home
27
21
18
12
25
20.15
17
3
16
14
20
4
28
13
11
15
FIT
1:1
100%

Артикул

Название

Примечание

Количество

1

85000175

WOBBLE BOX

(2 to 28)

1шт.

MAINTENANCE PART

1шт.

1

85000175R

REMAN-WOBBLE BOX

Reman For New PN 85000175

1шт.

1

85000175C

CORE-WOBBLE BOX

Return Number

1шт.

1

85000175

WOBBLE BOX

REMAN Gearbox - Sickle Drive/Wobble Box - Models 2010, 2020

1шт.

MAINTENANCE PART

1шт.

1

85000175R

REMAN-WOBBLE BOX

Reman For New PN 85000175

1шт.

1

85000175C

CORE-WOBBLE BOX

Return Number

1шт.

2

80572820

VENTING SCREW

1шт.

3

80920158

HYD CONNECTOR

1шт.

4

NS

NOT SERVICED

DECAL

1шт.

5

84800473

HOUSING

1шт.

6

80384922

PLUG

1шт.

7

89811397

BEARING ASSY

1шт.

MAINTENANCE PART

1шт.

8

89501697

SHAFT

1шт.

MAINTENANCE PART

1шт.

9

89811632

BEARING ASSY

1шт.

MAINTENANCE PART

1шт.

10

89501969

COVER

1шт.

11

80140045

WASHER

10 MM

8шт.

12

80043140

BOLT,M10 x 1.5 x 30mm, Cl 8.8

8шт.

13

89513024

RING

1шт.

MAINTENANCE PART

1шт.

14

80331192

NUT

M16

1шт.

MAINTENANCE PART

1шт.

15

80165216

O-RING

1шт.

MAINTENANCE PART

1шт.

16

84818319

BEARING HOUSING

1шт.

17

80850125

SCREW

M12 x 70

4шт.

18

87021857

NEEDLE BEARING,Needle, 41.27mm ID x 50.8mm OD x 25.4mm W

2шт.

MAINTENANCE PART

1шт.

19

80796503

SEALING ELEMENT

1шт.

MAINTENANCE PART

1шт.

20

80850119

NUT

1шт.

MAINTENANCE PART

1шт.

21

80796504

ROLLER BEARING

2шт.

MAINTENANCE PART

1шт.

22

80850123

BEARING HOUSING

1шт.

MAINTENANCE PART

1шт.

23

80100067

NUT

M8, Serial Range: -C649

2шт.

23

86629542

NUT,M8 x 1.25, Cl 8.8

, Start Serial: D650

2шт.

24

80300479

SCREW

M8 x 25

2шт.

25

80168100

SHIM

2шт.

MAINTENANCE PART

1шт.

26

89513490

YOKE

(27)

1шт.

MAINTENANCE PART

1шт.

27

80709063

BUSHING

2шт.

MAINTENANCE PART

1шт.

28

80847547

PIN

2шт.

MAINTENANCE PART

1шт.

Выбрано товаров: 51