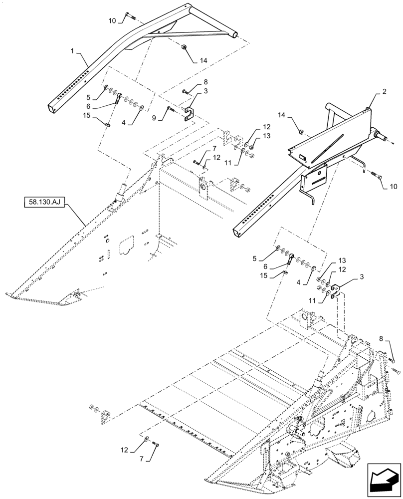
Запчасти Case IH 2060-15 (58.101.AQ) - REEL ARM, 15FT (58) - ATTACHMENTS/HEADERS

Схема запчастей Case IH 2060-15 - (58.101.AQ) - REEL ARM, 15FT (58) - ATTACHMENTS/HEADERS
58.130.aj
3
12
14
6
1
13
12
10
8
5
2
7
9
12
10
15
4
5
11
4
14
12
8
11
13
6
3
7
15
9
FIT
1:1
100%

Артикул

Название

Примечание

Количество

1

47565774

ARM

1шт.

2

47769850

ARM

1шт.

3

84435543

PLATE

3шт.

4

87524773

SHIM,16.3mm ID x 32mm OD x 1mm Thk

4шт.

5

87524771

SHIM,16.3mm ID x 32mm OD x 2mm Thk

10шт.

6

447598

EYEBOLT,M16

2шт.

7

9628065

SCREW,Hex, M12 x 1.75 x 45mm, Cl 8.8

4шт.

8

334966

CARRIAGE BOLT,Sht Nk, M12 x 1.75 x 45mm, Cl 8.8, Full Thd

2шт.

9

412097

CARRIAGE BOLT,Short Sq Nk, M12 x 1.75 x 60mm, Cl 8.8

2шт.

10

120093

BOLT,M16 x 2.0 x 90.18mm, Cl 8.8

2шт.

11

378245

WASHER,13mm ID x 28.5mm OD x 2.7mm Thk

6шт.

12

140046

BELLEVILLE WASHER,M12 Bolt Size x 27mm OD x 1.8mm Thk

8шт.

13

9706685

NUT,M12 x 1.75, Cl 8

8шт.

14

86000441

NUT,M16 x 2.0, Cl 8

2шт.

15

80100095

NUT

Jam

2шт.

Выбрано товаров: 15