Запчасти Case IH 325 (8-12) - HYDRAULIC PUMP ASSEMBLY - RIGHT (35) - HYDRAULIC SYSTEMS

Схема запчастей Case IH 325 - (8-12) - HYDRAULIC PUMP ASSEMBLY - RIGHT (35) - HYDRAULIC SYSTEMS
3
5
7
8
4
9
6
2
1
FIT
1:1
100%

Артикул

Название

Примечание

Количество

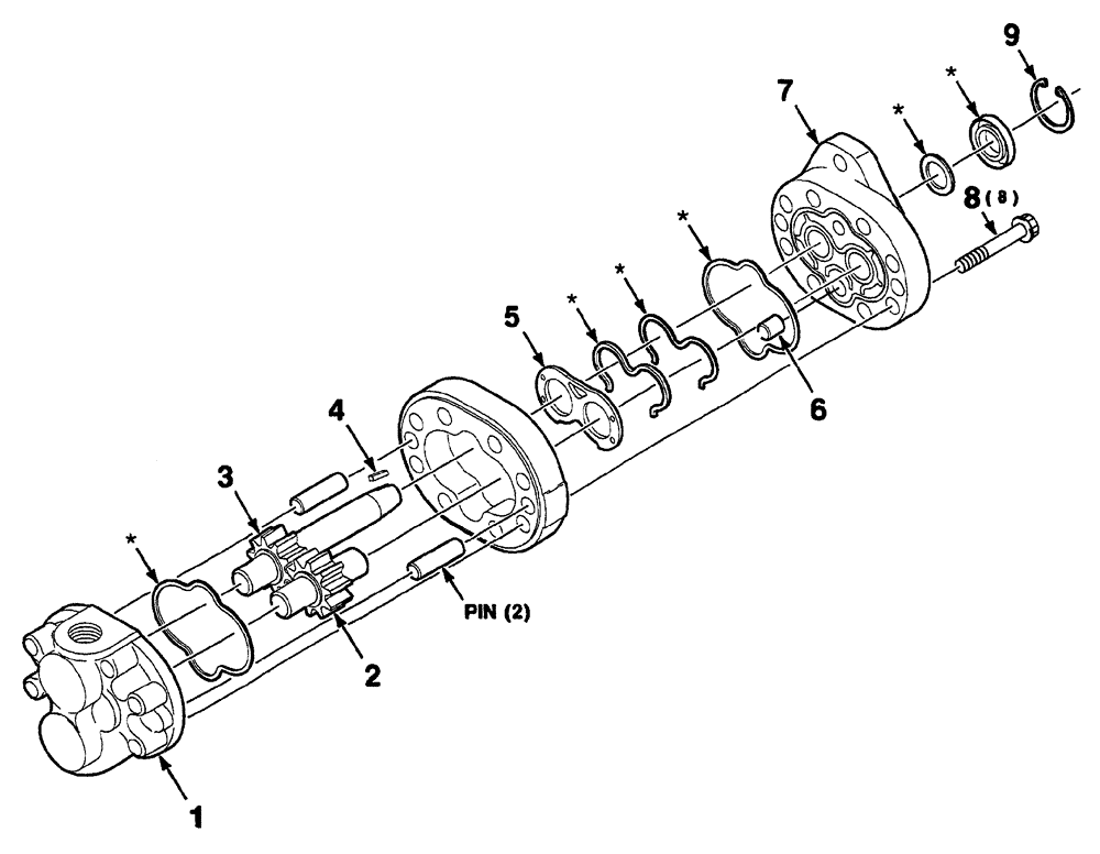
700717308

PUMP, HYDRAULIC

ASSEMBLY complete

1шт.

1

700717600

BACK PLATE

1шт.

2

700717602

GEAR, IDLER

GEAR,IDLE

1шт.

3

700717601

GEAR

drive

1шт.

4

H233346

KEY

1шт.

5

700717604

PLATE

wear

1шт.

6

291743A1

PLUG

1шт.

7

291734A1

PLATE

front

1шт.

8

166-35

12 PT SCREW,Flg, 5/16" - 18 x 3 1/4", Gr 8

5/16-18 x 3-1/4

8шт.

9

100-21137

SNAP RING,1.375", Int, #137

1шт.

10

700717606

SEAL KIT

seal repair, Includes all items in the art marked with asterisk.

1шт.

Выбрано товаров: 11