Запчасти Case IH 325 (8-16) - REEL HYDRAULIC ASSEMBLY (35) - HYDRAULIC SYSTEMS

Схема запчастей Case IH 325 - (8-16) - REEL HYDRAULIC ASSEMBLY (35) - HYDRAULIC SYSTEMS
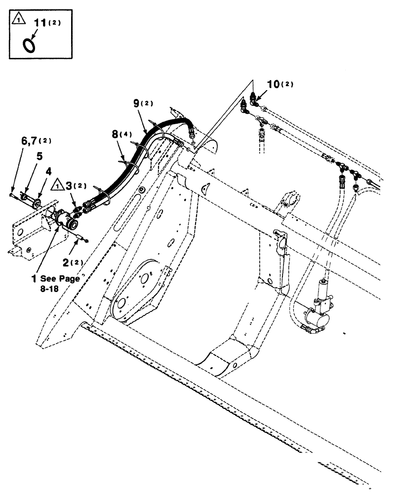
4
7
10
2
9
1
3
8
5
6
11
FIT
1:1
100%

Артикул

Название

Примечание

Количество

1

700719538

MOTOR, HYDRAULIC

reel, see Figure 8-18

1шт.

2

700128475

BUSHING

SPACER

2шт.

3

218-5065

HYD CONNECTOR,1-1/16" - 12 Male JIC x 7/8" - 14 Male ORB

Adapter, Includes Ref. 11

2шт.

4

700719433

SPROCKET ASSY.

special, 50B15

1шт.

5

700719434

BUSHING

tapered

1шт.

6

111-505

CARRIAGE BOLT,Short NK, 1/2"-13 x 3 1/2", G5

2шт.

7

230-4118

LOCK NUT,1/2"-13, GA

1/2-13 HTLN GR/B

2шт.

8

529070

CABLE TIE,368.3mm L

CABLE STRAP TIE, cable

4шт.

9

700719558

HYDRAULIC HOSE,0.75" ID x 72.84", SAE 100R1, SAE J517

hydraulic

2шт.

10

700717271

ELBOW

bulkhead, 90°

2шт.

11

237-6010

O-RING,0.097" Thk x 0.755" ID, -910, Cl 6, 90 Duro

2шт.

Выбрано товаров: 11