Запчасти Case IH 325 (8-24) - HYDRAULIC ASSEMBLY - LEFT (18 FOOT) (35) - HYDRAULIC SYSTEMS

Схема запчастей Case IH 325 - (8-24) - HYDRAULIC ASSEMBLY - LEFT (18 FOOT) (35) - HYDRAULIC SYSTEMS
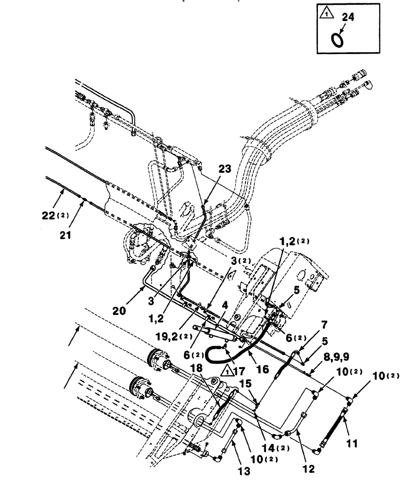
8
19
3
3
1
2
7
6
10
4
5
13
6
12
9
1
21
18
24
15
17
22
2
14
2
11
10
16
9
10
20
23
FIT
1:1
100%

Артикул

Название

Примечание

Количество

1

121-115

SERRATED BOLT,Hex, 5/16" - 18 x 3/4"

3шт.

2

231-5145

SERRATED NUT,Flg, USR, 5/16"-18

5шт.

3

700708939

CLAMP

line

3шт.

4

700717311

CYLINDER

hydraulic, slave, see Figure 8-34

1шт.

5

218-473

ELBOW,90 Degree Elbow, 9/16" - 18 Male JIC x 9/16" - 18 Male JIC

ELBOW 90°

2шт.

6

515-23190

CLAMP,3/4", Insul, 3/8" Bolt

Line

4шт.

7

700719033

HOSE

hydraulic

1шт.

8

413-424

BOLT,Hex, 1/4" - 20 x 1-1/2", Gr 5

1шт.

9

231-5144

SERRATED NUT,Flg, USR, 1/4"-20

2шт.

10

218-476

ELBOW,90 Degree Elbow, 1-1/16" - 12 Male JIC x 1-1/16" - 12 Male JIC

90°

6шт.

11

700719037

HYDRAULIC HOSE,0.75" ID x 11.81", SAE 100R1, SAE J517, SAE J516, SAE J343

hydraulic

1шт.

12

700719036

TUBE ASSY.,19.05 mm OD, 119, 62 mm Length

LINE, hydraulic

1шт.

13

700719028

TUBE ASSY.,19.05 mm OD, 153 mm Length

LINE, hydraulic

1шт.

14

700719027

ELBOW

90°

2шт.

15

700701350

FITTING

tee

1шт.

16

7796279

HOSE

hydraulic

1шт.

17

218-5135

ELBOW,45 Degree Elbow, 9/16" - 18 Male JIC x 9/16" - 18 Male ORB

1шт.

18

700719034

HOSE

hydraulic

1шт.

19

111-237

CARRIAGE BOLT,Short NK, 5/16"-18 x 1", G5

2шт.

20

700719264

PIPE

LINE, hydraulic

1шт.

21

846477

UNION

1шт.

22

700719262

TUBE ASSY.,9.52 mm OD, 2862 mm Length

LINE, hydraulic

2шт.

23

700719266

PIPE

LINE, hydraulic, left

1шт.

24

738468

O-RING

1шт.

Выбрано товаров: 24