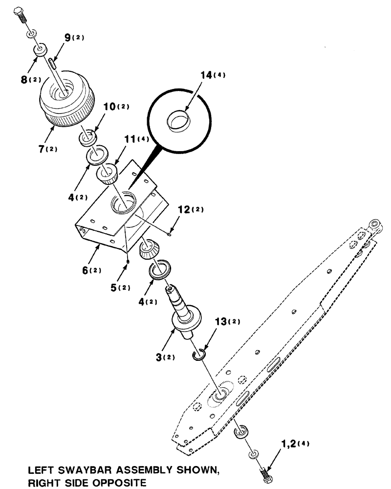
Запчасти Case IH 325 (2-16) - SWAYBAR DRIVE ASSEMBLY (58) - ATTACHMENTS/HEADERS

Схема запчастей Case IH 325 - (2-16) - SWAYBAR DRIVE ASSEMBLY (58) - ATTACHMENTS/HEADERS
6
12
1
4
3
13
10
9
8
2
7
11
5
14
4
FIT
1:1
100%

Артикул

Название

Примечание

Количество

1

700717362

BOLT

3/4-16 x 2 C GR8

4шт.

2

705566

WASHER

3/4 hardened plain

4шт.

3

700147985

CRANK

2шт.

4

700706454

SEAL

4шт.

5

217-430

PLUG,Hex Soc, 1/8" - 27 NPTF

1/8-27 NPTF square head

2шт.

6

700147987

CHANNEL

ASSEMBLY

2шт.

7

700717273

FLYWHEEL

cog

2шт.

8

700147992

SPACER

2шт.

9

Q1443

KEY,5/16" Sq x 1 1/2", Par

2шт.

10

700706453

COLLAR

clamp, threaded

2шт.

11

298194R91

ROLLER BEARING,44.45mm ID x 29.37mm W

4шт.

12

219-8

LUBE NIPPLE,1/4" - 28 NPTF

2шт.

13

700147990

SPACER

2шт.

14

170254R1

BEARING, CUP

4шт.

Выбрано товаров: 14