Запчасти Case IH 325 (2-22) - LINK ASSEMBLY - SWAYBAR (58) - ATTACHMENTS/HEADERS

Схема запчастей Case IH 325 - (2-22) - LINK ASSEMBLY - SWAYBAR (58) - ATTACHMENTS/HEADERS
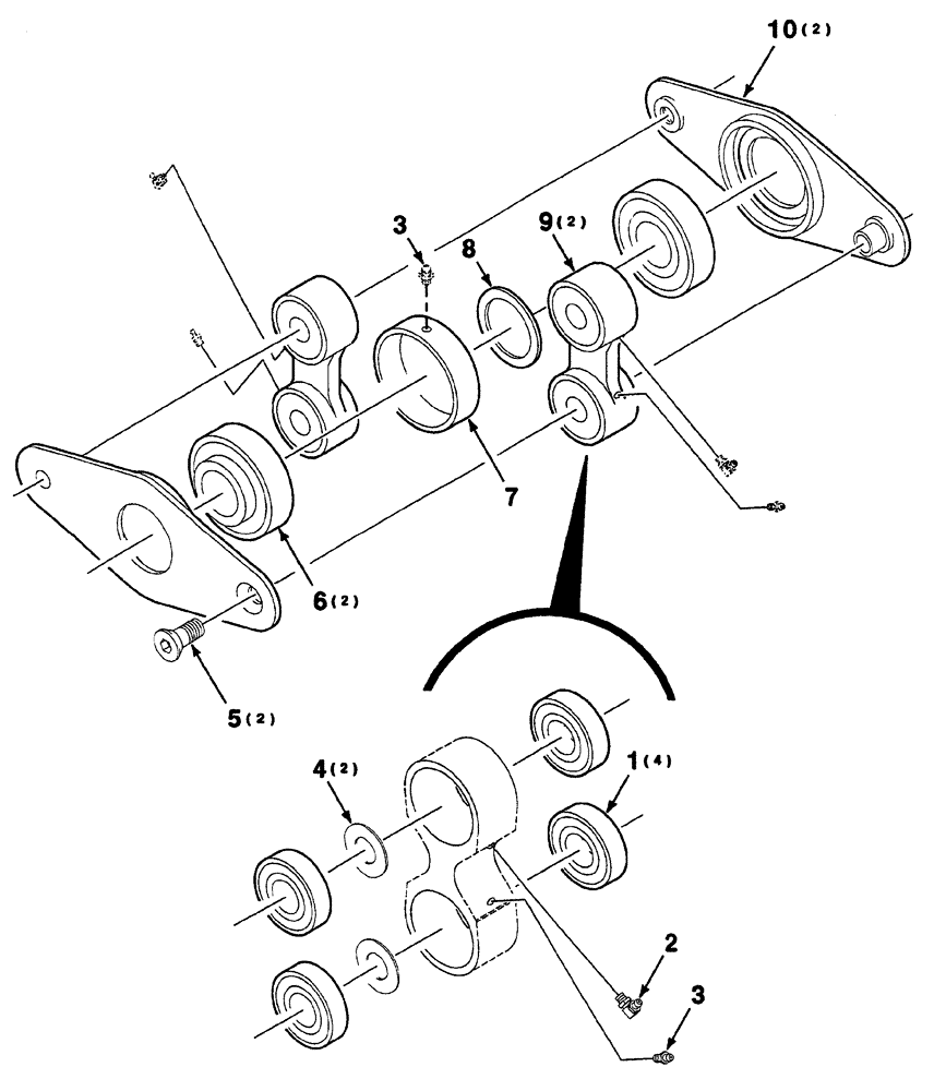
8
5
7
6
3
9
10
2
3
1
4
FIT
1:1
100%

Артикул

Название

Примечание

Количество

1

T39594

BALL BEARING,0.7505" ID x 1.7805" OD x 0.61"

cylindrical

4шт.

2

219-93

LUBE NIPPLE,90 Degree Elbow, 1/4" - 28 NPTF

1шт.

3

219-8

LUBE NIPPLE,1/4" - 28 NPTF

2шт.

4

195-2089

WASHER,25/32" x 1 1/2" x .083"

3/4 x 18 gauge WRMB

2шт.

5

700712806

BOLT,1/2" - 20 x 2-1/8"

1/2-20 x 2-1/8 HSFCHCS SPL

2шт.

6

8050825

BEARING, ROLLER, CYL,38.1 mm ID x 80 mm OD x 30.163 mm

cylindrical

2шт.

7

700124302

SPACER

1шт.

8

52712

BUSHING

1-1/2 x 18 GAUGE NRMB

1шт.

9

700124301

LINK

ASSEMBLY, Includes: Ref. 1, 2, 3 and 4

2шт.

10

700147979

PLATE

pivot

2шт.

Выбрано товаров: 10