Запчасти Case IH 325 (2-28) - REEL DRIVE ASSEMBLY (58) - ATTACHMENTS/HEADERS

Схема запчастей Case IH 325 - (2-28) - REEL DRIVE ASSEMBLY (58) - ATTACHMENTS/HEADERS
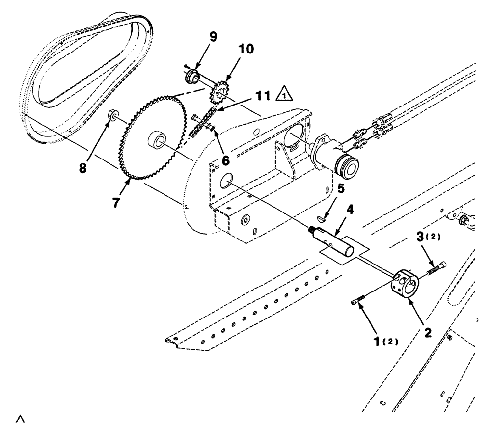
10
5
6
11
3
2
9
1
7
8
4
FIT
1:1
100%

Артикул

Название

Примечание

Количество

1

61-33828

HEX SOC SCREW,3/8"-16 x 1 3/4"

3/8-16 x 1-3/4 HSHCS SPL

2шт.

2

700149655

CLAMP

1шт.

3

61-35044

HEX SOC SCREW,1/2" - 13 x 2-3/4"

1/2-13 x 2-3/4 HSHCS SPL

2шт.

4

700152012

SHAFT

reel drive

1шт.

5

126-133

WOODRUFF KEY,#D, 5/16" x 1 1/4", HT

1шт.

6

47530

LINK, CONNECTING

1шт.

7

700152013

SPROCKET ASSY.

WA-50B60

1шт.

8

7775067

FLANGE NUT,Flg, 3/4"-16, G8

3/4-16 HFN GR8

1шт.

9

700719434

BUSHING

tapered

1шт.

10

700719433

SPROCKET ASSY.

50B15

1шт.

11

1791D

CHAIN (AG),#50, 192 Links x 15.88mm = 3048mm

roller #50 (10 foot bulk)

1шт.

Выбрано товаров: 11