Запчасти Case IH 325 (9-12) - HYDRAULIC MOTOR ASSEMBLY (AUGER DRIVE) (88) - ACCESSORIES

Схема запчастей Case IH 325 - (9-12) - HYDRAULIC MOTOR ASSEMBLY (AUGER DRIVE) (88) - ACCESSORIES
3
6
14
9
7
2
12
4
1
5
11
13
8
10
FIT
1:1
100%

Артикул

Название

Примечание

Количество

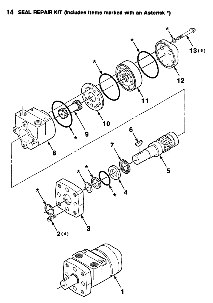
1

700719269

MOTOR, HYDRAULIC

ASSEMBLY, complete

1шт.

2

700713327

SCREW

5/16-24 x 7/8 torx drive cap

4шт.

3

700710623

FLANGE

mounting

1шт.

4

63779C1

BEARING CUP,27.94mm ID x 42.16mm OD x 10.16mm L

RACE, bearing

1шт.

5

8732513

SHAFT

output, keyed

1шт.

6

126-124

WOODRUFF KEY,#15, 1/4" x 1", HT

1шт.

7

63780C91

THRUST BEARING

thrust, needle

1шт.

8

700710628

HOUSING

1шт.

9

700719737

DRIVE

1шт.

10

8732539

SPACER

PLATE

1шт.

11

700719738

GEROTOR

SET

1шт.

12

700719734

CAP

end

1шт.

13

365445A1

SCREW

5/16-24 x 1.88 torx drive cap

5шт.

14

1542724C1

SEAL KIT

KIT, o-ring repair

1шт.

Выбрано товаров: 14