Запчасти Case IH 325 (8-08) - HYDRAULIC MANIFOLD ASSEMBLY (35) - HYDRAULIC SYSTEMS

Схема запчастей Case IH 325 - (8-08) - HYDRAULIC MANIFOLD ASSEMBLY (35) - HYDRAULIC SYSTEMS
4
3
6
8
2
9
1
7
5
FIT
1:1
100%

Артикул

Название

Примечание

Количество

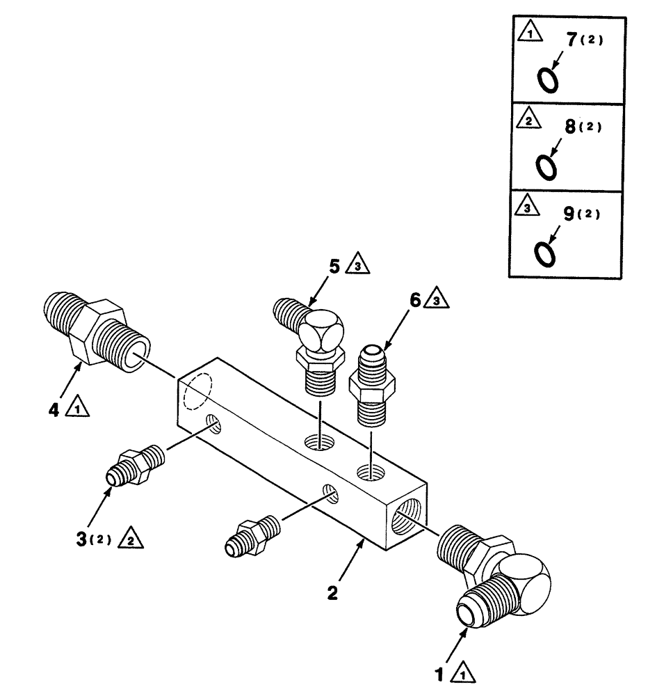
1

218-5108

ELBOW,90 Degree Elbow, 1-1/16" - 12 Male JIC x 1-1/16" - 12 Male ORB

Incl. Ref. 7

1шт.

2

700719511

MANIFOLD

hydraulic

1шт.

3

218-5057

HYD CONNECTOR,9/16" - 18 JIC x 9/16" - 18 ORB

Incl. Ref. 8

2шт.

4

218-5064

HYD CONNECTOR,1-1/16" - 12 Male JIC x 1-1/16" - 12 Male ORB

short STR THD, Incl. Ref. 7

1шт.

5

218-5106

90 ELBOW,90 Degree Elbow, 3/4" - 16 Male JIC x 3/4" - 16 Male ORB

Includes Ref. 9

1шт.

6

218-5059

HYD CONNECTOR,3/4"-16, 37 Degree x 3/4"-16, O-Ring

short STR THD, Incl. Ref 9

1шт.

7

738484

O-RING

2шт.

8

738468

O-RING

2шт.

9

237-6008

O-RING,0.087" Thk x 0.644" ID, -908, Cl 6, 90 Duro

2шт.

Выбрано товаров: 9