Запчасти Case IH 525 (05-002) - HAY CONDITIONER ASSEMBLY (58) - ATTACHMENTS/HEADERS

Схема запчастей Case IH 525 - (05-002) - HAY CONDITIONER ASSEMBLY (58) - ATTACHMENTS/HEADERS
12
7
3
8
9
5
1
15
6
4
14
11
13
2
3
16
7
3
6
10
FIT
1:1
100%

Артикул

Название

Примечание

Количество

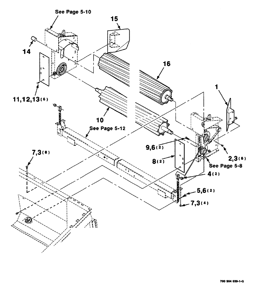
1

700134752

SHIELD

WA-forming

1шт.

2

121-226

SERRATED BOLT,Hex, 3/8" - 16 x 1"

6шт.

3

232-5316

FLANGE NUT,Flg, 3/8"-16

hex flange top lock, 3/8-16 GR/G

18шт.

4

428938

SPACER

2шт.

5

433-820

CARRIAGE BOLT,Sq Nk, 1/2" - 13 x 1 1/4", Gr 5

2шт.

6

231-5348

FLANGE NUT,Flg, 1/2"-13

hex flange top lock, 1/2-13 GR/G

4шт.

7

121-237

SERRATED BOLT,Hex, 3/8" - 16 x 1 1/4, Spcl

hex flange, 3/8-16 x 1-1/4 GR. 8

12шт.

8

700110186

STEEL PLATE

2шт.

9

413-824

BOLT,Hex, 1/2" - 13 x 1-1/2", Gr 5

2шт.

10

700115122

ROLLER

WA-lower

1шт.

11

111-237

CARRIAGE BOLT,Short NK, 5/16"-18 x 1", G5

6шт.

12

496-21034

WASHER,11/32" x 11/16" x 0.89", HDN

6шт.

13

425-105

NUT,5/16"-18, G5

6шт.

14

700713521

COVER

1шт.

15

700116705

SHIELD

WA-forming

1шт.

16

700706617

ROLL

rubber, upper

1шт.

Выбрано товаров: 0