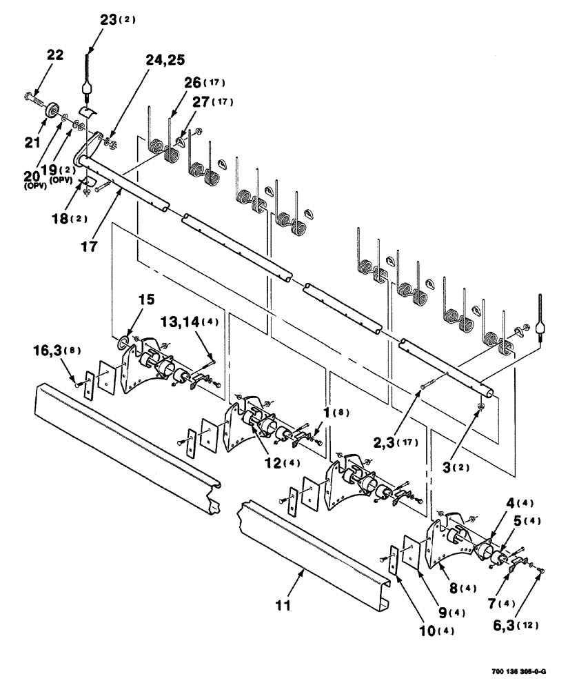
Запчасти Case IH 525 (06-006) - REEL BAT AND TINE TUBE ASSEMBLY (12 FOOT) (58) - ATTACHMENTS/HEADERS

Схема запчастей Case IH 525 - (06-006) - REEL BAT AND TINE TUBE ASSEMBLY (12 FOOT) (58) - ATTACHMENTS/HEADERS
3
11
8
22
3
20
12
21
1
4
26
15
27
24
17
23
3
2
13
16
18
7
6
25
10
9
14
5
19
3
FIT
1:1
100%

Артикул

Название

Примечание

Количество

1

496-21034

WASHER,11/32" x 11/16" x 0.89", HDN

8шт.

2

426-532

BOLT,Hex, 5/16" - 18 x 2", Gr 8

hex, 5/16-18 x 2 GR. 8

17шт.

3

231-5145

SERRATED NUT,Flg, USR, 5/16"-18

39шт.

4

700708643

BEARING HOUSING

BEARING

4шт.

5

6105159

NYLON BEARING,1.75"

TINE

4шт.

6

121-115

SERRATED BOLT,Hex, 5/16" - 18 x 3/4"

12шт.

7

6831986

COVER

BEARING

4шт.

8

700114555

SUPPORT

BEARING

4шт.

9

700114544

LARGE PLATE

PLATE, LARGE REEL

4шт.

10

700114543

RETAINER

4шт.

11

700124067

BAT

REEL

1шт.

12

700708642

BEARING HALF

4шт.

13

413-432

BOLT,Hex, 1/4" - 20 x 2", Gr 5

4шт.

14

232-4114

LOCK NUT,1/4"-20, GC

hex top, 1/4-20 GR B

4шт.

15

195-2139

WASHER,36.52mm ID x 57.15mm OD x 2.03mm Thk

BUSHING narrow rim machinery, 1-3/8 x 14 gauge

1шт.

16

111-237

CARRIAGE BOLT,Short NK, 5/16"-18 x 1", G5

8шт.

17

6805782

TUBE

WA-TINE, 12 foot "B"

1шт.

18

700117971

RETAINER

TUBE

2шт.

19

52233

BUSHING

narrow rim machinery, 5/8 x 14 gauge

2шт.

20

52175

BUSHING,25.48mm ID x 38.2mm OD x 3.17mm L

narrow rim machinery, 5/8 x 18 gauge

1шт.

21

667925R91

ROLLER BEARING,0.628" ID x 2" OD x 15 mm

1шт.

22

8701005

SPECIAL BOLT,Hex, 5/8" - 18 x 2 1/4", Gr 5

5/8-18 x 2-1/4 C

1шт.

23

756163

TINE

TINE-single

2шт.

24

492-11062

BEARING WASHER,5/8"

1шт.

25

425-1510

JAM NUT,Jam, 5/8"-18, G5

Hex

1шт.

26

7895642

TINE

TINE-double

17шт.

27

261024

CLIP

TINE

17шт.

Выбрано товаров: 27