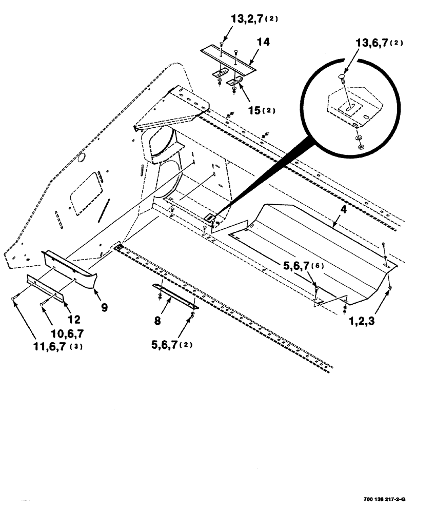
Запчасти Case IH 525 (07-004) - HEADER AUGER PAN & STRIPPER ASM, RIGHT (12 FOOT) (58) - ATTACHMENTS/HEADERS

Схема запчастей Case IH 525 - (07-004) - HEADER AUGER PAN & STRIPPER ASM, RIGHT (12 FOOT) (58) - ATTACHMENTS/HEADERS
11
10
14
13
7
7
13
6
15
2
7
6
7
9
6
4
6
3
5
2
1
12
5
7
6
8
7
FIT
1:1
100%

Артикул

Название

Примечание

Количество

1

121-115

SERRATED BOLT,Hex, 5/16" - 18 x 3/4"

1шт.

2

495-61034

WASHER,0.34" ID x 0.88" OD x 0.06" Thk

wide plain, 5/16

3шт.

3

232-5315

FLANGE NUT,Flg, 5/16"-18

hex flange top lock, 5/16-18 GR/G

1шт.

4

700124319

PAN

AUGER, right

1шт.

5

433-512

CARRIAGE BOLT,Sq Nk, 5/16" - 18 x 3/4", Gr 5

8шт.

6

496-21034

WASHER,11/32" x 11/16" x 0.89", HDN

14шт.

7

425-105

NUT,5/16"-18, G5

16шт.

8

700136371

STRAP

retainer

1шт.

9

700136345

STRIPPER

WA-right 12 foot

1шт.

10

433-540

CARRIAGE BOLT,Sq Nk, 5/16" - 18 x 2 1/2", Gr 5

round head square neck, 5/16-18 x 2-1/2

1шт.

11

433-536

CARRIAGE BOLT,Sq Nk, 5/16" - 18 x 2 1/4", Gr 5

round head square neck, 5/16-18 x 2-1/4

3шт.

12

700110664

ANGLE

STRIPPER, right

1шт.

13

111-237

CARRIAGE BOLT,Short NK, 5/16"-18 x 1", G5

4шт.

14

700136375

PAN

filler

1шт.

15

700136368

CLIP

retainer

2шт.

Выбрано товаров: 15