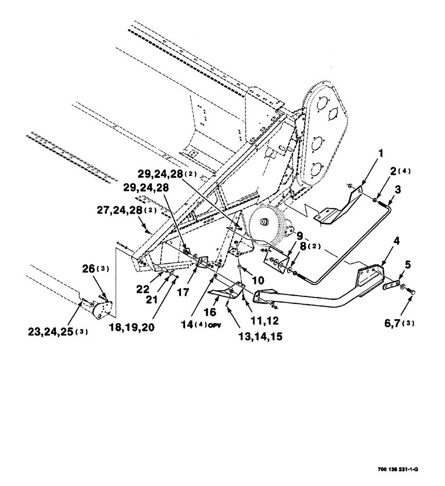
Запчасти Case IH 525 (07-010) - DIVIDERS, LEANBAR AND MOUNTING ASSEMBLIES (LEFT) (58) - ATTACHMENTS/HEADERS

Схема запчастей Case IH 525 - (07-010) - DIVIDERS, LEANBAR AND MOUNTING ASSEMBLIES (LEFT) (58) - ATTACHMENTS/HEADERS
16
15
24
29
13
29
10
18
28
28
24
11
24
17
24
8
21
4
6
2
1
9
26
14
5
23
22
27
3
28
20
12
14
19
7
25
FIT
1:1
100%

Артикул

Название

Примечание

Количество

1

700136269

SUPPORT

ROD, left

1шт.

2

329-288

FLANGE NUT,Flg, 1/2"-13, G8

4шт.

3

700134721

GUIDE

SHIELD, right

1шт.

4

700150969

PIPE

WA-GUARD

1шт.

5

700150972

STRAP

1шт.

6

414-1028

BOLT,Hex, 5/8" - 18 x 1-3/4", Gr 5

hex, 5/8-18 x 1-3/4

3шт.

7

396-21066

WASHER,16.66mm ID x 33.33mm OD x 4.27mm Thk

5/8" bolt size

3шт.

8

6223374

WASHER

2шт.

9

700136282

SUPPORT

ROD, left

1шт.

10

700110561

SPACER

left

1шт.

11

433-724

CARRIAGE BOLT,Sq Nk, 7/16" - 14 x 1 1/2", Gr 5

round head square neck, 7/16-14 x 1-1/2

1шт.

12

425-107

NUT,7/16"-14, G5

1шт.

13

118-140

PLOW BOLT,3/8"-16 x 1 1/8", G5

plow, 3/8-16 x 1-1/4

1шт.

14

496-81010

WASHER

hardened wide plain, 3/8

5шт.

15

231-5146

FLANGE NUT,3/8"-16

1шт.

16

700110225

DIVIDER POINT

left

1шт.

17

700136288

SHOE

DIVIDER, left

1шт.

18

413-540

BOLT,Hex, 5/16" - 18 x 2-1/2", Gr 5

1шт.

19

496-21034

WASHER,11/32" x 11/16" x 0.89", HDN

1шт.

20

231-5145

SERRATED NUT,Flg, USR, 5/16"-18

1шт.

21

700134873

MOUNTING PARTS

ROD

1шт.

22

6828107

TUBE,10.57 mm ID, 19.05 mm OD, 40 mm Length

1шт.

23

700711084

BOLT

SCREW hex flange, 3/8-16 x 1-1/2 GR. 8

3шт.

24

496-11041

WASHER,13/32" x 13/16" x .065", HDN

hardened plain, 3/8

8шт.

25

232-5316

FLANGE NUT,Flg, 3/8"-16

hex flange top lock, 3/8-16 GR/G

3шт.

26

6605752

SPACER

3шт.

27

434-616

CARRIAGE BOLT,Sht Sq Nk, 3/8" - 16 x 1", Gr 5

2шт.

28

425-106

NUT,3/8"-16, Cl 5

5шт.

29

433-612

CARRIAGE BOLT,Sq Nk, 3/8" - 16 x 3/4", Gr 5

3шт.

Выбрано товаров: 29