Запчасти Case IH 525 (07-016) - SHIELD ASSEMBLY (RIGHT) (58) - ATTACHMENTS/HEADERS

Схема запчастей Case IH 525 - (07-016) - SHIELD ASSEMBLY (RIGHT) (58) - ATTACHMENTS/HEADERS
12
15
2
3
5
9
10
4
2
4
4
4
3
1
4
4
16
3
10
14
4
13
2
4
3
6
4
4
3
7
8
3
4
2
3
11
4
FIT
1:1
100%

Артикул

Название

Примечание

Количество

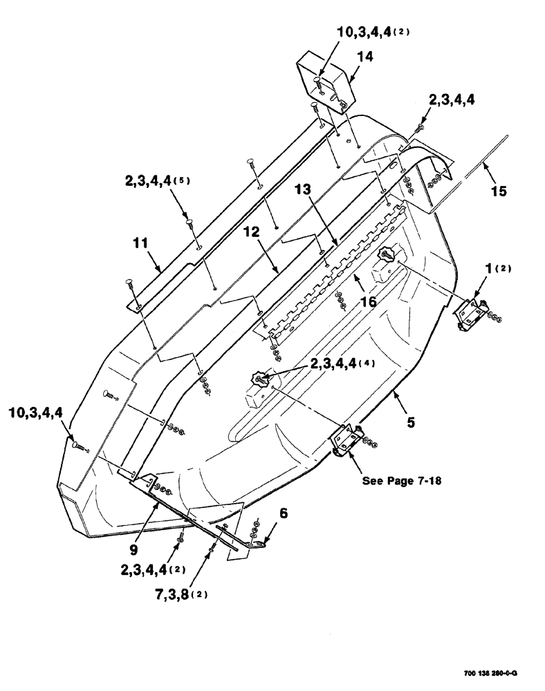
1

700150402

LATCH

ASSEMBLY

2шт.

2

111-237

CARRIAGE BOLT,Short NK, 5/16"-18 x 1", G5

12шт.

3

496-21034

WASHER,11/32" x 11/16" x 0.89", HDN

17шт.

4

425-105

NUT,5/16"-18, G5

30шт.

5

700716305

SHIELD

right

1шт.

6

700136290

STOP

STRAP-lower

1шт.

7

121-108

BOLT,Hex Flg, 5/16"-18 x 1 1/4", Serr

SCREW hex washer head machine, 5/16-18 x 1

2шт.

8

231-5145

SERRATED NUT,Flg, USR, 5/16"-18

2шт.

9

700136287

SUPPORT

upper right

1шт.

10

433-520

CARRIAGE BOLT,Sq Nk, 5/16" - 18 x 1 1/4", Gr 5

BOLT round head square neck, 5/16-18 x 1-1/4

3шт.

11

700150406

STRAP

reinforcement

1шт.

12

700136281

STRAP

right

1шт.

13

700134859

HINGE

right

1шт.

14

700134850

GUARD

FLASHER

1шт.

15

65250

PIN,4.76mm OD x 571.5mm L

HINGE

1шт.

16

700134857

HINGE

right

1шт.

Выбрано товаров: 16